Головна сторінка бізнес-порталу "Леонорм"

КОНТАКТИ

НОВИНИ РЕЄСТРАЦІЯ МАГАЗИН СИСТЕМИ ПОШУК (RUS)

 

Про затвердження Правил будови і безпечної експлуатації ліфтів

 

Наказ Державного комітету України з промислової безпеки, охорони праці та гірничого нагляду
від 1 вересня 2008 року N 190

Зареєстровано в Міністерстві юстиції України
7 жовтня 2008 р. за N 937/15628

Відповідно до Закону України "Про охорону праці" НАКАЗУЮ:

1. Затвердити Правила будови і безпечної експлуатації ліфтів (далі - Правила), що додаються.

2. Скасувати наказ Держнаглядохоронпраці від 03.11.99 N 208 "Про затвердження Правил будови і безпечної експлуатації ліфтів".

3. Начальнику управління організації державного нагляду в металургії, енергетиці, будівництві та котлонагляду Іванченку В. І. в установленому порядку забезпечити подання цього наказу на державну реєстрацію до Міністерства юстиції України.

4. Начальнику управління нормативно-правового та юридичного забезпечення Прохорову В. В. уключити цей наказ до Державного реєстру нормативно-правових актів з охорони праці.

5. Заступнику начальника відділу персоналу, діловодства та спец роботи Кравцю В. Ю. забезпечити опублікування наказу в засобах масової інформації.

6. Контроль за виконанням цього наказу покласти на заступника Голови Держгірпромнагляду Дєньгіна А. П.

 

Голова Держгірпромнагляду 

С. Сторчак 

ПОГОДЖЕНО: 

  

Голова Державного комітету
України з питань регуляторної
політики та підприємництва
 


 
К. Ващенко
 

Голова Державного комітету
України з питань технічного
регулювання та споживчої політики
 


 
Л. В. Лосюк
 

Міністр регіонального розвитку
та будівництва України
 


В. С. Куйбіда
 

Голова Державного комітету
ядерного регулювання України
 


О. А. Миколайчук
 

В. о. Першого заступника
Міністра, головного державного
санітарного лікаря України
 


 
А. М. Пономаренко
 

Перший заступник
Голови Антимонопольного
комітету України
 


 
Ю. Г. Кравченко
 

Директор виконавчої дирекції
Фонду соціального страхування
від нещасних випадків
на виробництві та професійних
захворювань України
 


 
 
 
Ю. Мельников
 

Заступник Міністра
України з надзвичайних
 ситуацій  та у справах захисту
 населення від наслідків
 Чорнобильської катастрофи


 
 
 
В. Третьяков


 

 

ЗАТВЕРДЖЕНО
наказом Державного комітету України з промислової безпеки, охорони праці та гірничого нагляду
від 1 вересня 2008 р. N 190

Зареєстровано
в Міністерстві юстиції України
7 жовтня 2008 р. за N 937/15628 


 

ПРАВИЛА
БУДОВИ І БЕЗПЕЧНОЇ ЕКСПЛУАТАЦІЇ ЛІФТІВ

 

I. СФЕРА ЗАСТОСУВАННЯ

 

Ці Правила поширюються на всіх суб'єктів господарювання незалежно від форм власності, які здійснюють виготовлення, монтаж, експлуатацію, ремонт, реконструкцію та модернізацію ліфтів, підйомників та їх складових частин.

II. НОРМАТИВНІ ПОСИЛАННЯ

 

У цих Правилах є посилання на такі нормативні документи:

ДСТУ 2860-94 

Надійність техніки. Терміни та визначення 

ДСТУ 3552-97 

Ліфти пасажирські та вантажні. Терміни та визначення 

ДСТУ 3321-2003 

Система конструкторської документації. Терміни та визначення основних понять 

ДСТУ 3278-95 

Система розроблення та поставлення продукції на виробництво. Основні терміни та визначення 

ДСТУ ISO 4190-1-2001 

Установка ліфтова (елеваторна). Частина 1. Ліфти класів I, II, III і VI 

ДСТУ ISO 4190-2-2001 

Установка ліфтова (елеваторна). Частина 2. Ліфти класу IV 

ДСТУ ISO 4190-3-2001 

Установка ліфтова (елеваторна). Частина 3. Ліфти службові класу V 

ДСТУ ISO 4190-5-2001 

Установка ліфтова (елеваторна). Частина 5. Пристрої керування, сигналізації та додаткові пристрої 

ДСТУ ISO 4190-6-2001 

Установка ліфтова (елеваторна). Частина 6. Ліфти пасажирські для встановлення в житлових будинках. Планування і вибір 

ДСТУ EN 81-1:2003 

Норми безпеки до конструкції та експлуатації ліфтів. Частина 1. Ліфти електричні 

ДСТУ EN 81-2:2003 

Норми безпеки до конструкції та експлуатації ліфтів. Частина 2. Ліфти гідравлічні 

ДСТУ pr EN 81-3:2004 

Норми безпеки до конструкції та експлуатації ліфтів. Частина 3. Ліфти електричні і гідравлічні службові 

ДСТУ pr EN 81-5:2004 

Норми безпеки до конструкції та експлуатації ліфтів. Частина 5. Ліфти гвинтові 

ДСТУ pr EN 81-6:2004 

Норми безпеки до конструкції та експлуатації ліфтів і службових ліфтів. Частина 6. Ліфти з ланцюговою передачею 

ДСТУ pr EN 81-7:2002 

Норми безпеки до конструкції та експлуатації ліфтів і службових ліфтів. Частина 7. Ліфти з зубчастою передачею 

ДСТУ pr EN 81-8:2002 

Норми безпеки до конструкції та експлуатації ліфтів. Частина 8. Двері шахти ліфта. Випробовування на вогнестійкість 

ДСТУ pr EN 81-11:2002 

Норми безпеки до конструкції та експлуатації ліфтів. Частина 11. Нові ліфти в існуючих будинках 

ДСТУ pr EN 81-22-1:2006 

Норми безпеки до конструкції та експлуатації ліфтів. Ліфти для транспортування осіб та вантажів. Частина 22-1. Електричні пасажирські і вантажопасажирські ліфти з нахиленою рухомою частиною 

ДСТУ pr EN 81-28:2001 

Норми безпеки до конструкції та експлуатації ліфтів. Частина 28. Дистанційне керування сигналізацією на пасажирських і вантажопасажирських ліфтах 

ДСТУ pr EN 81-70:2003 

Норми безпеки до конструкції та експлуатації ліфтів. Частина 70. Конкретне застосування пасажирських і вантажопасажирських ліфтів. Зручність доступу до ліфтів пасажирів, зокрема пасажирів з функціональними порушеннями 

ДСТУ pr EN 81-72:2002 

Норми безпеки до конструкції та експлуатації ліфтів. Частина 72. Ліфти для пожежної служби 

ДСТУ pr EN 81-73:2004 

Норми безпеки до конструкції та експлуатації ліфтів. Специфічне використовування пасажирських і вантажопасажирських ліфтів. Частина 73. Режим роботи ліфтів у разі пожежі 

ДСТУ EN 12015:2003 

Електромагнітна сумісність. Ліфти, ескалатори та пасажирські конвеєри. Емісія завад 

ДСТУ EN 12016:2003 

Електромагнітна сумісність. Ліфти, ескалатори та пасажирські конвеєри. Несприйнятливість до завад 

ДСТУ pr EN 13015:2002 

Технічне обслуговування ліфтів і ескалаторів. Норми для інструкцій із технічного обслуговування 

ДСТУ ISO 18738:2004 

Ліфти (елеватори). Вимірювання параметрів якості руху ліфта 

НПАОП 0.00-1.16-96 

Правила атестації зварників, затверджені наказом Державного комітету України по нагляду за охороною праці від 19.04.96 N 61, зареєстровані в Міністерстві юстиції України 31.05.96 за N 262/1287 

НАПБ А.01.001-2004 

Правила пожежної безпеки в Україні, затверджені наказом Міністерства України з питань надзвичайних ситуацій від 19.10.2004 N 126, зареєстровані в Міністерстві юстиції України 04.11.2004 за N 1410/10009 

НАПБ Б.01.007-2004 

Правила облаштування та застосування ліфтів для транспортування пожежних підрозділів у будинках та спорудах, затверджені наказом Міністерства України з питань надзвичайних ситуацій та у справах захисту населення від наслідків Чорнобильської катастрофи від 19.04.2004 N 174, зареєстровані в Міністерстві юстиції України 07.05.2004 за N 577/9176 

НПАОП 40.1-1.21-98 

Правила безпечної експлуатації електроустановок споживачів, затверджені наказом Державного комітету України по нагляду за охороною праці, від 06.10.97 N 257, зареєстровані в Міністерстві юстиції України 13.01.98 за N 11/2451 

НПАОП 40.1-1.32-2001 

Правила будови електроустановок. Електроустаткування спеціальних установок, затверджені наказом Міністерства праці та соціальної політики України 21.06.2001 N 272 

НПАОП 0.00-6.02-2004 

Порядок розслідування та ведення обліку нещасних випадків, професійних захворювань і аварій на виробництві, затверджений постановою Кабінету Міністрів України від 25.08.2004 N 1112 

НПАОП-0.00-4.12-2005 

Типове положення про порядок проведення навчання і перевірок знань з питань охорони праці, затверджене наказом Державного комітету України з нагляду за охороною праці від 26.01.2005 N 15, зареєстроване в Міністерстві юстиції України 15.02.2005 за N 231/10511. 

НПАОП 0.00-4.05-2003 

Порядок видачі дозволів Державним комітетом з нагляду за охороною праці та його територіальними органами, затверджений постановою Кабінету Міністрів України від 15.10.2003 N 1631 

НПАОП 0.00-6.18-2004 

Порядок проведення огляду, випробовування та експертного обстеження (технічного діагностування) машин, механізмів, устаткування підвищеної небезпеки, затверджений постановою Кабінету Міністрів України від 26.05.2004 N 687 

ГОСТ 12.1.005-88 

ССБТ. Общие санитарно-гигиенические требования к воздуху рабочей зоны 

ГОСТ 15.001-88 

Система разработки и постановки продукции на производство. Продукция производственно-технического назначения 

ГОСТ 22011-95 

Лифты пассажирские и грузовые. Технические условия 

ГОСТ 22845-85 

Лифты электрические пассажирские и грузовые. Правила организации, производства и приемки монтажных работ 

ГСТУ 36.1-001-97 

Ліфти пасажирські та вантажні. Монтаж 

ГСТУ 36.1-002-97 

Ліфти пасажирські та вантажні. Модернізація ліфтів на місці експлуатації. Положення 

ГСТУ 36.1-003-98 

Ліфти пасажирські та вантажні. З'єднання зварювальні. Загальні технічні вимоги 

ГСТУ 36.1-009-99 

Ліфти пасажирські та вантажні. Нормативи оснащеності на виконання робіт з монтажу, ремонту та технічного обслуговування ліфтів 

ДБН В.2.2-9-99 

Державні будівельні норми України. Будинки і споруди. Громадські будинки та споруди. Основні положення 

ДБН В.2.2-15-2005 

Державні будівельні норми України. Будинки і споруди. Житлові будинки. Основні положення 

ДБН В.2.5-28-2006 

Державні будівельні норми України. Інженерне обладнання будинків і споруд. Природне і штучне освітлення 

ДБН В.1.1-7-2002 

Державні будівельні норми України. Пожежна безпека об'єктів будівництва 

ДСН 3.3.6.037-99 

Державні санітарні норми виробничого шуму, ультразвуку та інфразвуку, затверджені постановою Головного державного санітарного лікаря України від 01.12.99 N 37 

ДСН 3.3.6.039-99 

Державні санітарні норми виробничої загальної та локальної вібрації, затверджені постановою Головного державного санітарного лікаря України від 01.12.99 N 39 

ДСН 3.3.6.042-99 

Державні санітарні норми мікроклімату виробничих приміщень, затверджені постановою Головного державного санітарного лікаря України від 01.12.99 N 42 

ДСН 3.3.6.096-2002 

Державні санітарні норми і правила при роботі з джерелами електромагнітних полів, затверджені наказом Міністерства охорони здоров'я України від 18.12.2002 N 476, зареєстровані в Міністерстві юстиції України 13.03.2003 за N 203/7524 

ДСан ПіН 2.2.7.029-99 

Гігієнічні вимоги щодо поводження з промисловими відходами та визначення їх класу небезпеки для здоров'я населення, затверджені постановою Головного державного санітарного лікаря України від 01.07.99 N 29 

ПУЕ 

Правила улаштування електроустановок. Глава 1.7. Заземлення і захисні засоби електробезпеки, затверджені наказом Міністерства палива та енергетики України від 28.08.2006 N 305 

ПТЕ 

Правила технічної експлуатації електроустановок споживачів, затверджені наказом Міністерства палива та енергетики України від 25.07.2006 N 258, зареєстровані в Міністерстві юстиції України 25.10.2006 за N 1143/13017. 


 

III. ЗАГАЛЬНІ ПОЛОЖЕННЯ

 

3.1. Загальні вимоги

Ці Правила встановлюють вимоги до будови, виготовлення, монтажу, налагодження, проведення технічного огляду та експертного обстеження, експлуатації, ремонту, реконструкції та модернізації ліфтів, підйомників та їх складових частин.

3.1.1. Дія цих Правил поширюється на:

- ліфти електричні з тяговим або жорстким приводом та гідравлічні (далі - ліфти);

- ліфти з іншими приводами в частині реєстрації, перереєстрації, проведення технічного огляду та експертного обстеження, експлуатації, ремонту, реконструкції та модернізації;

- малі вантажні ліфти в частині обліку проведення технічного огляду та експертного обстеження, експлуатації, ремонту, реконструкції та модернізації;

- електричні багатокабінні пасажирські підйомники безперервної дії;

- будівельні підйомники.

3.1.2. Будова малих вантажних ліфтів та ліфтів з іншими приводами повинна відповідати вимогам нормативних документів.

3.1.3. Улаштування ліфтів для транспортування пожежних підрозділів повинні здійснюватись згідно з НАПБ Б.007-2004.

3.1.4. Дія цих Правил не поширюється на ліфти, які установлені:

а) в шахтах гірничої промисловості;

б) на суднах та інших плавучих спорудах;

в) на літаках та інших апаратах, які літають.

3.1.5. Вимоги цих Правил у частині будови ліфтів поширюються тільки на ті ліфти, що виготовлені після введення в дію цих Правил.

3.1.6. Вимоги цих Правил не поширюються на будівельну частину діючих ліфтів у разі виконання робіт із заміни та модернізації ліфтів.

Установлення нових ліфтів в існуючих будинках, у разі невідповідності розмірів будівельної частини вимогам розділу VI цих Правил, здійснюється згідно з вимогами ДСТУ pr EN 81-11-2002.

IV. ТЕРМІНИ ТА ВИЗНАЧЕННЯ ПОНЯТЬ

 

У цих Правилах використано терміни, установлені чинними нормативно-правовими актами, стандартами, будівельними нормами, санітарними нормами і правилами (далі - нормативні документи).

4.1. Експлуатація - стадія життєвого циклу ліфта чи підйомника, на якому реалізують, підтримують та відновлюють якість виробу.

Експлуатація ліфта охоплює етапи введення в експлуатацію за призначенням, зберігання, транспортування, технічне обслуговування, поточний та середній ремонт, припинення експлуатації (утилізація та знищення).

4.2. Ліфт панорамний - ліфт, який має кабіну і шахту з прозорою огорожею, призначений для огляду пасажирами з кабіни навколишнього простору.

4.3. Ліфт малий вантажний (службовий ліфт класу V) - постійний підіймальний пристрій, що обслуговує визначені поверхи, має кабіну, доступ людей в яку неможливий через її розміри і конструктивне виконання (вантажопідйомність 250 кг, площа підлоги кабіни не більше 1 м2, висота дверей шахти не більше 1250 мм).

4.4. Модернізація - внесення змін у конструкцію ліфтів чи підйомників, які підвищують їх безпечність, технічний рівень і поліпшують економічні характеристики шляхом заміни окремих складових частин на більш сучасні, у тому числі заміна системи керування, за умови збереження основних технічних характеристик ліфта чи підйомника.

4.5. Підйомник будівельний - транспортний засіб перервної дії, який установлюють на час будівництва будь-якої споруди, призначений для підіймання і спускання будівельних матеріалів (вантажний підйомник) або будівельних матеріалів і людей (вантажопасажирський підйомник) у кабіні (платформі), яка переміщується по вертикальних напрямних, з одного рівня на інший.

4.6. Підйомник багатокабінний пасажирський електричний - стаціонарна багатокабінна машина безперервної дії з електроприводом, призначена для підіймання і спускання людей у кабіні, вхід і вихід яких здійснюється під час її руху.

4.7. Режим "Ревізія" - управління ліфтом з даху кабіни під час проведення огляду і ремонту устатковання, встановленого в шахті ліфта.

4.8. Реконструкція - зміна кінематичної схеми ліфта, збільшення вантажопідйомності або номінальної швидкості, які здійснюються після введення ліфта в експлуатацію.

4.9. Ремонт - відновлення пошкоджених, спрацьованих або таких, що стали непридатними з будь-якої причини, складових частин ліфтів і підйомників (металевих конструкцій, механізмів, гідроприводу, електроприводу, приладів і пристроїв безпеки тощо) з доведенням ліфтів і підйомників до працездатного і справного стану, у тому числі проведене відповідно до системи планово-попереджувальних ремонтів.

4.10. Технічне обслуговування - комплекс дій або дія для підтримання справного стану чи працездатності ліфта (підйомника) під час використання його за призначенням, простою, зберігання та транспортування.

V. НЕБЕЗПЕКИ, ПОВ'ЯЗАНІ З ЕКСПЛУАТАЦІЄЮ ЛІФТІВ

 

Основні види небезпек, небезпечних ситуацій та небезпечних випадків, що можуть виникнути під час нормальної експлуатації ліфтів і які становлять небезпеку для користувачів та обслуговуючого персоналу:

а) защемлення;

б) здавлювання;

в) падіння;

г) несанкціонована зупинка кабіни ліфта між поверхами;

ґ) пожежа;

д) електрошок;

е) вібрація;

є) ушкодження матеріалу з причин:

- механічного ушкодження;

- зносу;

- корозії.

VI. ВИМОГИ БЕЗПЕКИ ДО БУДОВИ ЛІФТІВ

 

6.1. Загальні вимоги

6.1.1. Ліфти, їх складові частини, прилади та пристрої безпеки повинні відповідати вимогам цих Правил і чинних нормативних документів.

6.1.2. Оснащеність для виконання робіт з монтажу, ремонту та технічного обслуговування ліфтів повинна бути згідно з вимогами ГСТУ 36.1-009-99.

6.1.3. Основні розміри ліфтів повинні відповідати:

- пасажирських класів I, II, III і VI - вимогам ДСТУ ISO 4190-1:2001;

- вантажних класу IV у супроводі людей - вимогам ДСТУ ISO 4190-2:2001;

- службових (малих) класу V - вимогам ДСТУ ISO 4190-3:2001.

Пристрої керування, сигналізації та додаткові пристрої повинні відповідати вимогам ДСТУ ISO 4190-5:2001.

6.1.4. Кліматичне виконання ліфтів і підйомників здійснюється згідно з вимогами чинних нормативних документів та повинно відповідати мікрокліматичним районам України, у яких вони можуть експлуатуватись.

6.1.5. Планування і вибір ліфтів для встановлення у житлових будинках здійснюється згідно з вимогами ДСТУ ISO 4190-6:2001.

6.1.6. Зручність доступу до ліфтів повинна відповідати вимогам ДСТУ pr EN 81-70-2003.

6.1.7. Ліфти і підйомники, призначені для роботи у вибухонебезпечних і пожежонебезпечних зонах, повинні відповідати вимогам НПАОП 40.1-1.32-2001.

Клас вибухонебезпечної і пожежонебезпечної зони, категорія та група вибухонебезпечної суміші зазначаються в паспорті ліфта, а також у технічних документах виробника.

6.1.8. Ліфти для пожежної служби повинні відповідати вимогам ДСТУ pr EN 81-72-2002, НАПБ Б.01.007-2004 та НАПБ А.01.001-2004.

6.1.9. Режим роботи ліфтів під час пожежі повинен відповідати вимогам ДСТУ EN pr 81-73:2004.

6.1.10. Відхилення від конструкторської документації, необхідність у яких виникає в процесі монтажу, модернізації, реконструкції ліфтів, повинні узгоджуватись з підприємством - виробником ліфта або організацією - розробником конструкторської документації.

Зміни до конструкторської документації повинні бути завірені організацією, яка вносила ці зміни, та узгоджені з підприємством - виробником.

6.1.11. Відхилення робочої швидкості руху кабіни від номінальної повинно бути в межах ± 15 %.

6.1.12. Точність автоматичної зупинки кабіни ліфта в експлуатаційних режимах роботи не повинна бути вище і нижче поверхової площадки більш ніж на 20 мм; у випадку одночасної роботи дверей кабіни і шахти ця величина може бути збільшена до 35 мм.

6.1.13. Роз'ємні з'єднання, які сприймають динамічні навантаження, повинні забезпечуватись від мимовільних роз'єднань.

6.1.14. Передання моменту скручування в з'єднаннях повинно здійснюватися за допомогою шліців або деталей кріплення (шпонок, болтів тощо).

6.1.15. Зварювальні з'єднання, що відповідають ГСТУ 36.1-003-98, повинні виконуватися зварниками, атестованими згідно з НПАОП 0.00-1.16-96.

6.1.16. У ліфта, обладнаного лебідкою з канатотяговим шківом, повинна бути виключена можливість підіймання противаги при нерухомій кабіні.

6.1.17. Всі складові частини та механізми ліфта повинні бути доступні для огляду та технічного обслуговування.

6.1.18. Конструкція ліфта повинна забезпечувати можливість евакуації людей з кабіни обслуговуючим персоналом у разі зникнення електропостачання ліфта або у разі його несправності.

6.1.19. Конструкція ліфта повинна забезпечувати можливість зняття кабіни (противаги) з уловлювачів.

6.1.20. Норми бракування щодо ланцюгів, на яких підвішуються кабіна і противага, і ланцюга обмежувача швидкості вказуються в технічній документації виробника. Норми бракування щодо стальних канатів наведені в додатку 1 до цих Правил.

6.1.21. Заземлення (занулення) повинно відповідати вимогам НПАОП 40.1-1.32-2001.

6.1.22. Після закінчення граничного строку експлуатації ліфта як вітчизняного, так і імпортного виробництва проводиться його експертне обстеження згідно з НПАОП 0.00-6.18-2004.

6.2. Вантажопідйомність, перевезення пасажирів та вантажів

6.2.1. Не дозволяється перевезення в кабіні ліфта пасажирів і (або) вантажів загальною масою, яка перевищує вантажопідйомність ліфта.

6.2.2. У ліфта самостійного користування корисна площа підлоги кабіни повинна визначатись залежно від його вантажопідйомності згідно з таблицями 1 і 2.

Таблиця 1

Номінальне навантаження, маса, кг 

Максимальна внутрішня площа підлоги кабіни, м2 

Номінальне навантаження, маса, кг 

Максимальна внутрішня площа підлоги кабіни, м2 

Номінальне навантаження, маса, кг 

Максимальна внутрішня площа підлоги кабіни, м

100 

0,37 

630 

1,66 

1125 

2,65 

180 

0,58 

675 

1,75 

1200 

2,80 

225 

0,70 

750 

1,90 

1250 

2,90 

300 

0,90 

800 

2,00 

1275 

2,95 

375 

1,10 

825 

2,05 

1350 

3,10 

400 

1,17 

900 

2,20 

1425 

3,25 

450 

1,30 

975 

2,35 

1500 

3,40 

525 

1,45 

1000 

2,40 

1600 

3,56 

600 

1,60 

1050 

2,50 

2000 

4,20 

  

  

  

  

2500 

5,00 


 

У ліфта вантажопідйомністю понад 2500 кг на кожні додаткові 100 кг максимальна внутрішня площа підлоги кабіни повинна збільшуватися на 0,16 м2.

Корисну площу підлоги кабіни для проміжного значення вантажопідйомності ліфта необхідно визначати лінійною інтерполяцією.

Для вантажопасажирських ліфтів з гідравлічним приводом внутрішня площа кабіни може бути більшою, ніж зазначено в таблиці 1, і не більшою, ніж зазначено в таблиці 2, залежно від номінальної швидкості.

Таблиця 2

Номінальне навантаження, маса, кг 

Максимальна внутрішня площа підлоги кабіни, м2 

Номінальне навантаження, маса, кг 

Максимальна внутрішня площа підлоги кабіни, м2 

Номінальне навантаження, маса, кг 

Максимальна внутрішня площа підлоги кабіни, м2 

  

  

630 

2,42 

1125 

3,90 

  

  

675 

2,56 

1200 

4,08 

  

  

750 

2,80 

1250 

4,20 

  

  

800 

2,96 

1275 

4,26 

  

  

825 

3,04 

1350 

4,44 

400 

1,68 

900 

3,28 

1425 

4,62 

450 

1,84 

975 

3,52 

1500 

4,80 

525 

2,08 

1000 

3,60 

1600 

5,04 

600 

2,32 

1050 

3,72 

 

  


 

Для ліфта вантажопідйомністю понад 1600 кг необхідно додавати 0,40 м2 на кожні додаткові 100 кг.

Для проміжних навантажень площу визначають лінійною інтерполяцією.

6.2.3. Для визначення корисної площі підлоги кабіни не враховується площа, яка перекривається однією з відчинених стулок обертально-розкривних дверей, і не зменшується за рахунок встановлення в кабіні поручнів та плінтусів.

6.2.4. Для визначення місткості кабіни пасажирського ліфта маса однієї людини приймається на рівні 75 кг.

Місткість кабіни визначається діленням величини вантажопідйомності ліфта на 75, з округленням одержаного результату до більшого цілого числа.

6.2.5. У ліфта самостійного користування дозволяється перевищення корисної площі підлоги кабіни відносно його вантажопідйомності, зазначеної в пункті 6.2.2 цих Правил, за умови виконання таких вимог:

- унеможливлення пуску ліфта з кабіни або з поверхової (завантажувальної) площадки у разі перебування в кабіні вантажу, маса якого перевищує на 10 % і більше вантажопідйомність ліфта;

- наявність сигнального пристрою у кабіні для фіксування її перевантаження.

6.2.6. У ліфтах класу III (для установ охорони здоров'я) і ліфтів вантажопасажирських класу IV дозволяється транспортування пасажирів тільки в супроводі ліфтера.

Якщо ліфти класів III та IV відповідають вимогам цих Правил, які пред'являються до пасажирського ліфта самостійного користування, то в них дозволяється транспортування пасажирів без ліфтера.

6.2.7. У пасажирському ліфті дозволяється транспортування ручного багажу та речей домашнього вжитку.

Якщо пасажирський ліфт самостійного користування відповідає вимогам до ліфтів класу III, встановленим у ДСТУ ISO 4190-1:2001, його дозволяється використовувати для установ охорони здоров'я.

6.2.8. У ліфтах з зовнішнім керуванням транспортування людей не дозволяється.

6.2.9. У разі перевезення в ліфті вибухонебезпечних, пожежонебезпечних, хімічноактивних і радіоактивних вантажів необхідно застосовувати заходи для безпеки персоналу, що супроводжує вантаж, оточуючих та збереження устаткування ліфта. Одночасне перевезення небезпечних вантажів та пасажирів забороняється.

У разі перевезення в ліфті пожежонебезпечних вантажів (легкозаймистих та горючих рідин) повинні виконуватись вимоги НАПБ А.01.001-2004.

6.3. Будівельна частина ліфтів

6.3.1. Будівельна частина, призначена для розміщення устатковання ліфта, повинна відповідати вимогам ДБН В.2.2-9-99, ДБН В.2.2-15-2005, ДБН В.1.1-7-2002 і бути розрахована на навантаження, які виникають під час експлуатації та випробовувань ліфта, а також у разі обриву всіх тягових канатів або ланцюгів.

6.3.2. Необхідність улаштування опалення та примусової вентиляції приміщень, призначених для розміщення устатковання ліфта, визначається під час проектування будинків (споруд) згідно з вимогами чинних нормативних документів та вимогами, встановленими виробником ліфта, щодо його експлуатації.

6.3.3. Освітлення шахти ліфта, машинного і блочного приміщень повинні бути незалежні від живлення привода ліфта. Живлення забезпечується через інший ланцюг або через приєднання ланцюга живлення освітлення до ввідного пристрою привода ліфта.

6.3.4. Противага або балансувальний вантаж повинні бути розміщені в одній шахті з кабіною.

6.3.5. Гідроциліндри повинні бути розміщені в тій же шахті, що і кабіна.

6.4. Шахта ліфта

6.4.1. Шахта ліфта повинна бути огороджена з усіх сторін на всю її висоту і мати перекриття та підлогу.

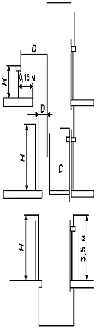
Дозволяється часткове огородження шахти ліфта у разі виконання таких вимог:

- висота огорожі повинна бути не менше ніж 3500 мм з боку дверей шахти (якщо таку висоту дозволяє обладнати висота поверху, якщо ні, то огородження повинно бути обладнано на максимально можливу висоту) і не менше ніж 2500 мм з інших боків з мінімальною горизонтальною відстанню 500 мм до рухомих частин ліфта (додаток 2 до цих Правил).

Якщо відстань до рухомих частин перевищує 500 мм, розмір 2500 мм може бути зменшений поступово до мінімальної висоти 110 мм на відстані 2000 мм (додаток 2 до цих Правил).

Огорожа повинна бути в межах 150 мм від краю перекриття, східців або платформ.

6.4.2. У разі огородження шахти ліфта металевими листами, склом, металевою дротяною сіткою або іншими матеріалами повинні виконуватись умови:

- товщина сталевого листа - не менше 1 мм;

- металевий (не сталевий) лист забезпечує міцність і жорсткість не меншу ніж у огородження, виготовленого зі сталевого листа товщиною 1 мм;

- скло, ламіноване скло - товщиною не менше ніж 8 мм;

- армоване скло - товщиною не менше ніж 6 мм;

- пустотілі скляні блоки - товщина стінки не менше ніж 4 мм;

- металева дротяна сітка, виконана з дроту діаметром не менше ніж 1,2 мм, закріплена до каркаса шахти з внутрішнього боку і натягнута. Дріт, який кріпить сітку до горизонтальної обв'язки (поясів) та розкосів шахти, дозволяється розміщувати з їх зовнішнього боку;

- перфорований сталевий лист - товщиною не менше ніж 1,5 мм;

- вічко сітки з дроту та отворів перфорованого листа - не більше ніж 20 х 20 мм.

У ліфтів, розташованих у приставних та підвісних шахтах, огородження шахти ліфта з зовнішнього боку будинку повинно виконуватись із скла, ламінованого скла товщиною не менше ніж 8 мм, армованого скла товщиною не менше ніж 6 мм, пустотілих скляних блоків товщиною стінки не менше ніж 4 мм на висоті:

- у приставної - більше 2500 мм від рівня площадки, що прилягає до шахти;

- у підвісної - від огорожі приямка.

6.4.3. Шахта ліфта, огороджена сіткою (огородження шахти сіткою дозволяється для всіх ліфтів, за винятком пасажирських і вантажопасажирських) або склом товщиною менше ніж 8 мм, крім ліфтів панорамного виконання, з боку прилеглих до неї площадок або сходів, на яких можуть перебувати пасажири, повинна мати огорожу, виконану зі сталевого листа товщиною не менше 1 мм або з іншого матеріалу, який забезпечує міцність і жорсткість не меншу ніж в огорожі, що виконана із сталевого листа.

Висота огорожі від рівня площадки або сходів повинна бути не менше ніж 1000 мм, а в разі використання горизонтально-розсувних дверей висота з боку поверхової площадки - не менше ніж висота дверного прорізу.

На сходах і площадках, крім поверхової, на якій установлені горизонтально-розсувні двері, дозволяється замість вказаної огорожі встановлювати грати (перила) додатково до огорожі із сітки або скла, висотою не менше ніж 900 мм.

6.4.4. Міцність стін шахти ліфта повинна бути такою, щоб у разі прикладення навантаження 300 Н зовні шахти до її огорожі у будь-якому місці перпендикулярно площині огорожі пружна деформація була не більше ніж 15 мм, залишкова деформація недопустима. Навантаження повинно бути рівномірно розподілене на площі 5 см2 круглої або квадратної форми. У разі прикладення навантаження 100 Н до будь-якої точки огорожі із сітки перпендикулярно площині сітки прогин не повинен бути більше ніж 50 мм.

6.4.5. В огорожі шахти, крім обов'язкових вхідних (вантажних) прорізів, дозволяється виконувати прорізи і отвори для:

- аварійних дверей і люків для стеження за станом устатковання ліфта;

- вентиляції;

- установлення і обслуговування устатковання ліфта;

- роботи ліфта, необхідні між шахтою і машинним або блочним приміщенням;

- виходу газів і диму у випадку пожежі.

6.4.6. Оглядові двері повинні мати мінімальну висоту 1400 мм і мінімальну ширину 600 мм. Аварійні двері - мінімальну висоту 1800 мм і мінімальну ширину 350 мм, оглядові люки - максимальну висоту 500 мм і максимальну ширину 500 мм.

6.4.7. Якщо відстань між послідовними порогами дверей шахти перевищує 11 м, повинні бути встановлені проміжні аварійні двері так, щоб відстань між порогами не була більше ніж 11 м.

Дозволяється не влаштовувати аварійні двері для малих вантажних ліфтів і вантажних ліфтів без провідника або за відсутності примкнутих до шахти площадок (в зоні, де вимагається встановлення аварійних дверей), з яких можна евакуйовувати людей.

6.4.8. Оглядові і аварійні двері та оглядові люки не повинні відчинятись усередину шахти, обов'язково мають бути оснащені замком із ключем, повинні зачинятися і замикатися ззовні. Також повинна бути забезпечена можливість відчиняти їх зсередини шахти без ключа, навіть якщо вони замкнені. Зачинення дверей і люків контролюється вимикачами. Двері повинні бути суцільними і за міцністю відповідати вимогам, що пред'являються до дверей шахти.

6.4.9. Прорізи для вентиляції повинні бути огороджені металевими ґратами або металевою сіткою з розмірами вічок не більше ніж 20 х 20 мм.

6.4.10. Внутрішня поверхня стіни шахти з боку входу в кабіну на всю ширину вхідного прорізу плюс 25 мм на кожен бік повинна бути без виступів і виїмок.

На цій поверхні дозволяється наявність виступів і виїмок не більше ніж 100 мм. Виступи і виїмки більше ніж 50 мм зверху і знизу повинні мати скоси під кутом не менше ніж 60° до горизонталі.

Скоси повинні бути зроблені на всю ширину виступу або виїмки і примикати до стіни шахти, розташованої з боку входу в кабіну. Скіс може бути не доведеним до стіни шахти на 50 мм і менше за умови забезпечення горизонтальної площадки від краю скосу до вказаної стіни.

Вимоги цього пункту не поширюються на виступи і виїмки, утворені дверима шахти.

6.4.11. Виступ більше ніж 50 мм, утворений порогом дверей шахти, повинен мати скіс знизу, а виступ, розмішений над дверним прорізом, - скіс зверху, кут нахилу скосів до горизонталі повинен бути не менше ніж 60°.

Скоси повинні бути зроблені на всю ширину прорізу плюс 25 мм на кожен бік і примикати до стіни шахти, розташованої збоку від входу в кабіну. Дозволяється не доводити скіс до стіни шахти відповідно до розмірів, зазначених у пункті 6.4.10 цих Правил.

У ліфті, в якому відкриття зсередини дверей кабіни між поверховими площадками неможливе, скіс у виступах, розташованих над дверима прорізу, дозволяється не робити.

6.4.12. У ліфті, де дозволяється рух кабіни з відчиненими дверима кабіни і шахти, під порогом дверей шахти паралельно до внутрішньої її поверхні з боку входу в кабіну і на рівні з кромкою порога повинен бути встановлений щит, ширина якого не менше ширини дверного прорізу плюс 25 мм на кожен бік, а висота не менше ніж 300 мм - у пасажирському ліфті і не менше ніж 200 мм - у вантажному ліфті.

Якщо відстань між щитом і стіною шахти, розташованою збоку входу в кабіну, більше ніж 50 мм, то знизу щита за всією його шириною повинен бути влаштований скіс під кутом не менше 60° до горизонталі, який повинен примикати до стіни шахти.

6.4.13. У разі розміщення декількох ліфтів в одній загальній шахті, між ними повинна бути встановлена перегородка з матеріалу, який дозволяється для огородження шахти.

У разі використання для перегородки сітки з дроту діаметр його повинен бути не менше ніж 1,2 мм, а розмір вічка сітки повинен бути не більше ніж 60 х 60 мм.

Ця перегородка повинна бути встановлена від найнижчої точки пересування кабіни, противаги або балансувального вантажу до висоти 2500 мм вище підлоги нижньої поверхової площадки.

Якщо горизонтальна відстань між краєм даху кабіни і рухомими частинами (кабіни, противаги або балансувального вантажу) суміжного ліфта менша ніж 500 мм, повинні бути встановлені перегородки на всю висоту шахти.

Ширина перегородки повинна бути більше ширини рухомого компонента або його частини на 100 мм на кожну зі сторін.

6.4.14. Верхні зазори для ліфтів із тяговим приводом повинні відповідати таким вимогам:

- довжина напрямної кабіни (противаги) повинна дозволяти подальше їх спрямоване пересування на відстань не менше ніж 0,1 + 0,035V2,

де V - номінальна швидкість руху ліфта в м/с;

- над кабіною повинно бути достатньо місця для розміщення прямокутного блока розміром не менше ніж 500 х 600 х 800 мм.

6.4.15. Верхні зазори для ліфтів із жорстким приводом повинні забезпечувати спрямований рух кабіни вгору від верхнього поверху до верхніх буферів на відстань не менше ніж 500 мм.

Над кабіною повинно бути достатньо місця для розміщення прямокутного блока розміром не менше ніж 500 х 600 х 800 мм;

У разі знаходження кабіни на повністю стиснутих буферах довжина напрямної балансувального вантажу, якщо він є, повинна забезпечувати можливість подальшого його руху на відстань не менше ніж на 300 мм.

6.4.16. У вантажних ліфтів класу II після зупинки кабіни від спрацювання кінцевого вимикача, розміщеного у верхній частині шахти між елементами кабіни, які найбільше виступають, і конструкціями, розміщеними над шахтою (люком), повинна залишатись відстань не менше ніж 200 мм.

6.4.17. У нижній частині шахти повинен бути обладнаний приямок. Якщо кабіна перебуває на повністю стиснутих буферах, то при цьому повинні виконуватись такі умови:

- у приямку повинно бути достатньо місця для розміщення прямокутного блока розміром не менше ніж 500 х 600 х 1000 мм, установленого на одній із поверхонь.

Глибина приямка може бути зменшена, якщо підприємство-виробник обладнує ліфти додатковими пристроями і вимикачами, які забезпечують безпеку при проведенні робіт у приямку;

- вільна вертикальна відстань між дном приямка і найнижчою частиною кабіни повинна бути не менше ніж 500 мм. Ця відстань може бути зменшена до 100 мм у межах горизонтальної відстані між:

1) фартухом або частинами вертикально-розсувних дверей кабіни і суміжною стіною;

2) нижніми частинами кабіни і напрямними.

6.4.18. У приямку повинні бути постійні засоби, легко доступні від дверей шахти, для безпечного спуску на підлогу приямка. Цей засіб не повинен заважати рухомим частинам ліфта.

Приямок глибиною більше ніж 2500 мм повинен бути обладнаний дверима, що відповідають вимогам пункту 6.4.8 цих Правил, мати розмір не менше ніж 600 х 1800 мм (ширина х висоту).

6.4.19. У приямку повинні бути:

- пристрій для зупинення ліфта, на якому або біля якого зазначене слово "СТОП", розміщений так, щоб унеможливити ризик помилки щодо положення зупинки;

- розетка з напругою не більше ніж 250 В;

- засіб для вмикання освітлення шахти ліфта, доступний під час відчинення дверей шахти або приямка.

6.4.20. Приямок повинен бути захищений від потрапляння в нього ґрунтових і стічних вод.

6.4.21. Розміщення упорів і буферів у приямку повинно бути таким, щоб відстань від верхньої частини упора або буфера до опорної плити кабіни або противаги, коли кабіна (противага) перебуває в нижньому робочому положенні, була не більше ніж 200 мм.

У ліфта з жорстким приводом відстань від верхньої частини упора або буфера до опорної плити противаги, коли вона перебуває в нижньому робочому положенні, може бути більше ніж 200 мм. Ця відстань визначається конструкцією ліфта і зазначається в монтажному (установчому) кресленні.

6.4.22. Ділянка пересування противаги або балансувального вантажу повинна бути огороджена, мати жорсткий екран в межах не більше ніж 300 мм над підлогою приямка ліфта і висотою не менше ніж 2500 мм.

6.4.23. Відстань між кабіною, противагою і елементами шахти, а також устаткованням, яке установлене в шахті, повинна відповідати значенням таблиці 3.

Таблиця 3

Назва відстані 

Значення, мм 

не менше ніж 

не більше ніж 

Між порогом дверей шахти і порогом кабіни 

35 

Між внутрішньою поверхнею огорожі шахти з боку входу в кабіну, крім випадків, зазначених у пункті 6.4.25, і:  

  

  

- порогом кабіни 

 -

150 

- стулками обертально-розкривних дверей кабіни 

150 

- найбільш близько розташованими стулками розсувних дверей кабіни 

150 

- обрамленням вхідного прорізу кабіни, яка не має дверей 

150 

Між найближче розташованими стулками дверей шахти і кабіни 

120 

Між елементами кабіни, які виступають, і дверима шахти, крім розміщених на них елементів, які взаємодіють 

15 

Між відводками дверей кабіни і порогом дверей шахти, а також між роликами замків дверей шахти і порогом дверей кабіни 

Від елементів кабіни (противаги) до елементів внутрішньої поверхні огорожі шахти, які виступають, з боку, до якого не звернений вхідний проріз кабіни, крім шахти з сітчастою огорожею. 

25 

В шахті з сітчастою огорожею (до сітки) 

50 

Від зовнішньої поверхні стінок кабіни до внутрішньої поверхні огорожі шахти: 

  

  

- з боку противаги 

650 

- з інших сторін 

350 

Між елементами кабіни і противаги, які виступають 

50 

Від зовнішньої поверхні стінок кабіни до поверхні противаги 

350 

Між виступаючими елементами кабіни (противаги) і деталями кріплення напрямних (стикові планки, затискачі, болти, екрани тощо) 

10 

Між елементами кабіни (противаги), які виступають, і конструкціями, які призначені для установлення на напрямних (кронштейни, балки) 

20 


 

6.4.24. Розміри відстаней між внутрішньою поверхнею огорожі шахти з боку входу в кабіну і стулками, або обрамленням вхідного прорізу кабіни, або її порогом, які зазначені в таблиці 3, можуть бути збільшені у випадках:

- якщо неможливе відчинення зсередини дверей кабіни поза зоною поверхової площадки;

- у разі встановлення паралельно до вказаної поверхні огорожі шахти додаткової огорожі, ширина якої дорівнює ширині прорізу дверей кабіни плюс 25 мм на кожну сторону, зробленої з матеріалу, який дозволяється для огородження шахти.

Також можуть бути збільшені розміри відстаней від зовнішньої поверхні стінок кабіни до внутрішньої поверхні огорожі шахти за умови наявності зверху кабіни перил.

6.4.25. Під верхнім перекриттям шахти дозволяється встановлення канатотягового шківа, напрямних блоків, обмежувача швидкості, елементів підвіски канатів тощо за умови забезпечення можливості їх обслуговування.

6.4.26. Шахта ліфта повинна бути забезпечена постійним електричним освітленням, що дає інтенсивність світла не менше ніж 50 люкс на висоту 1000 мм над дахом кабіни і на підлогу приямка, навіть якщо двері шахти закриті. Стаціонарну електричну мережу не встановлюють, якщо шахта частково огороджена і має достатнє освітлення.

Дозволяється в глухих шахтах, у разі розміщення в них ліфтів з автоматичним приводом дверей кабіни і шахти, вмикати їх освітлення тільки під час проведення оглядів і ремонтів.

Електричні лампи освітлення шахти повинні бути захищені від механічних пошкоджень.

6.4.27. У шахті ліфта не дозволяється встановлювати устатковання і прокладати комунікації, які не стосуються ліфта, крім систем, призначених для опалення і вентиляції шахти. Пускорегулювальні пристрої цих систем не повинні розміщуватись усередині шахти.

Прокладання в шахтах трубопроводів каналізації та водоводів, паропроводів і газопроводів забороняється.

6.4.28. Канатотяговий шків може бути встановлений у шахті, якщо

- перевіряння, випробовування і обслуговування можна проводити з машинного приміщення або шахти;

- отвори між машинним приміщенням і шахтою повинні мати найменший розмір.

6.5. Машинне і блочне приміщення

6.5.1. Лебідка, низьковольтний комплектний пристрій (станція управління) (далі - НКП), трансформатори, перетворювачі, ввідний пристрій тощо повинні бути установлені в спеціальному приміщенні (машинному).

У ліфтах, які не мають машинного приміщення, указане устатковання може бути установлене в шахті ліфта, приямку або на поверхових площадках за умови можливості його обслуговування і неможливості доступу до нього випадкових осіб.

У разі розміщення в машинному приміщенні устатковання двох і більше ліфтів на лебідках, НКП, ввідних пристроях тощо повинні бути нанесені позначення про належність їх до певного ліфта.

Ввідний пристрій, якщо є, повинен бути розміщений безпосередньо біля входу в машинне приміщення і установлений окремо від НКП. Приводна рукоятка ввідного пристрою повинна бути розміщена на висоті 1200 - 1600 мм від рівня підлоги. Взаємне розміщення НКП і ввідного пристрою повинно унеможливлювати перекриття відчиненими дверима НКП зони обслуговування ввідного пристрою.

6.5.2. Машинне приміщення може складатися з двох і більше приміщень, між якими необхідно забезпечувати переговорний зв'язок.

6.5.3. Машинне і блочне приміщення повинні мати суцільну огорожу з усіх боків і на всю висоту, а також верхнє перекриття і підлогу.

6.5.4. Двері машинного і блочного приміщень повинні бути суцільними, металевими або покриті металевим листом, відчинятись назовні і замикатись замками.

Розміри полотна дверей повинні бути не менше ніж:

- 600 х 1800 мм (ширина х висоту) - у машинному приміщенні;

- 600 х 1400 мм (ширина х висоту) - у блочному приміщенні.

6.5.5. Вхід до машинного приміщення через люк не дозволяється.

6.5.6. У разі доступу в блочне приміщення через люк його розміри повинні бути не менше ніж 800 х 800 мм.

Кришка люка повинна бути суцільною, металевою або покрита металевим листом, відчинятися вгору або зсуватись убік і замикатись замком.

Для доступу до блочного приміщення, яке розташоване під машинним приміщенням, установлення замка на кришці не вимагається.

У зачиненому положенні кришка люка повинна витримувати вагу двох осіб із розрахунку на кожного по 1000 Н на площі 200 х 200 мм в будь-якій точці без залишкової деформації.

6.5.7. У підлозі машинного приміщення, розміщеного над шахтою, повинен бути обладнаний люк для проведення ремонтних робіт. Розміри люка повинні дозволяти вільно переміщувати через нього устатковання ліфта (електродвигун, лебідку, канатотяговий шків, НКП тощо).

Люк повинен бути розташований над верхньою поверховою площадкою ліфта.

Кришка люка повинна бути суцільною, відчинятись тільки вгору, замикатись і відчинятись тільки з машинного приміщення. Міцність кришки люка повинна відповідати вимогам пункту 6.5.6 цих Правил.

6.5.8. Підлога машинного приміщення повинна мати покриття, яке не створює пилу.

Стіни і стеля машинного приміщення повинні бути пофарбовані світлою фарбою.

Машинне приміщення повинно бути захищеним від потрапляння в нього атмосферних опадів, мати освітлення, природну або примусову вентиляцію.

Освітлення, мікроклімат повинні відповідати вимогам ДСТУ EN 81-1:2003; ДСТУ EN 81-2:2003; ДСТУ prEN 81-3: 2004; ДСТУ prEN 81-5:2004; ДСТУ prEN 81-6:2004; ДСТУ prEN 81-7:2002; ДСТУ EN 12015:2003; ДСТУ EN 12016:2003 та ДСН 3.3.6.096-2002.

Вимикачі ланцюгів освітлення машинного і блочного приміщень повинні бути установлені в машинному приміщенні безпосередньо біля входу.

6.5.9. Машинні приміщення повинні мати достатні розміри і безпечні умови для роботи з устаткованням. Висота робочого місця повинна бути не менше ніж 2000 мм і:

- вільна горизонтальна ділянка перед панелями керування і корпусами. Цю ділянку визначають у такий спосіб:

1) глибина, виміряна від стіни приміщення, не менше ніж 700 мм;

2) ширина більша від таких розмірів: 500 мм або повної ширини панелі чи корпуса;

- вільна горизонтальна ділянка розміром не менше ніж 500 х 600 мм для технічного обслуговування і огляду рухомих частин у точках, де це необхідно, і, якщо потрібно, для ручної аварійної роботи (пересування кабіни вручну за допомогою штурвала).

6.5.10. Вільна висота для руху повинна бути не менше ніж 1800 мм.

Цю висоту визначають до нижчої частини балок даху і вимірюють від:

- підлоги ділянки доступу;

- підлоги робочої ділянки.

Доступ до вільних просторів, зазначених у пункті 6.5.9 цих Правил, повинен мати ширину не менше ніж 500 мм. За відсутності рухомих частин цей розмір може бути зменшений до 400 мм.

6.5.11. Над обертовими частинами машини повинна бути вільна відстань по вертикалі не менше ніж 300 мм.

6.5.12. Якщо підлога машинного приміщення має декілька рівнів із різницею у висоті більше ніж 500 мм, підхід до підвищеної частини повинен бути забезпечений східцями або сходинками з поручнями.

6.5.13. Відстань від рівня чистої підлоги машинного приміщення до низу балок, які використовуються для підвішування вантажопідйомних засобів, призначених для проведення ремонтних робіт, повинна бути не менше ніж 2000 мм.

6.5.14. Зазор між кромкою отвору в підлозі машинного приміщення для проходження канатів і канатом повинен бути не менше ніж 15 мм і не більше ніж 70 мм. Навколо отворів повинні бути влаштовані бортики висотою не менше ніж 50 мм.

6.5.15. У машинному приміщенні біля входу повинен бути вільний простір з розмірами в горизонтальній площині не менше ніж 1000 х 1000 мм. У межах цієї площини не дозволяється влаштовувати люк для виконання ремонтних робіт. У вказаному просторі дозволяється розміщувати вимикачі ланцюгів освітлення і ввідний пристрій.

6.5.16. У машинному приміщенні ліфта повинен бути встановлений пристрій для підвішування вантажопідйомного засобу, який призначений для проведення ремонтних робіт. Пристрій повинен бути розміщений над центром монтажного люка і повздовжньою віссю лебідки.

На цьому пристрої або поруч з ним повинна бути зазначена його вантажопідйомність або допустиме навантаження.

6.5.17. Підходи до машинного і блочного приміщень повинні бути обладнані електричним освітленням, бути вільними і доступними для персоналу, який обслуговує ліфт, а підлога повинна мати тверде покриття.

Вхід в машинне і блочне приміщення, у разі потреби, повинен бути обладнаний східцями. Якщо немає можливості встановити східці, дозволяється застосовувати приставні драбини, що задовольняють таким умовам:

- доступ у машинне і блочне приміщення не повинен бути розташований вище 4000 мм від рівня доступності східців або дверей приміщення;

- приставні драбини для доступу повинні бути прикріплені так, щоб вони не могли пересуватися;

- драбини, що перевищують висоту 1500 мм, в приставленому положенні для доступу повинні утворювати кут нахилу до горизонталі від 65° до 75°, не повинні бути слизькими і не повинні перекидатися;

- внутрішня ширина драбини у світлі повинна бути не менше ніж 350 мм, глибина сходинок повинна бути не менша ніж 25 мм, а у випадку вертикальних драбин відстань між сходинками і стіною за драбиною повинна бути не менше ніж 150 мм;

- сходинки повинні бути розраховані на навантаження 1500 Н;

- поруч з верхнім кінцем драбини повинна бути щонайменше одна опора для руки на легкодоступній відстані.

Ширина підходу повинна бути не менше ніж 650 мм, висота - не менше ніж 1800 мм. Дозволяється місцеве зменшення висоти (пороги, труби, балки, які встановлені поперек проходу) до 1500 мм. За необхідності влаштування сходів до них повинні примикати площадки розмірами не менше ніж 1000 х 1000 мм.

Улаштування підходів до машинного і блочного приміщень на похилих дахах та пожежних сходах не дозволяється.

6.5.18. Між дверима машинного (блочного) приміщення і сходами на рівні підлоги машинного (блочного) приміщення повинна бути влаштована горизонтальна площадка. Розміри її повинні дозволяти обертально-розкривним дверям повністю відчинятися, а між лінією відчинення дверей і прилеглими до площадки східцями (сходами) або огорожею площадки повинна залишатися відстань не менше 500 мм.

Якщо різниця в рівнях більше ніж 500 мм, то східці (сходи) і площадка повинні бути обладнані поручнями висотою не менше ніж 900 мм.

6.5.19. Підходи до машинного та блочного приміщень та поверхові площадки повинні мати освітлення інтенсивністю не менше ніж 30 люкс згідно з ДБН В.2.5-28:2006.

6.5.20. У машинному і блочному приміщеннях повинні бути встановлені розетки (не менше ніж по одній) з напругою не більше 250 В.

6.5.21. У машинному і блочному приміщеннях прокладання паропроводів, газопроводів, водопроводів не дозволяється.

6.5.22. Не дозволяється використання машинного або блочного приміщення для проходу крізь них на покрівлю або в інші приміщення, які не належать до ліфта.

6.5.23. У вікнах машинного і блочного приміщень і в прорізях для природної вентиляції машинного приміщення повинні бути влаштовані ґрати.

6.5.24. У машинному приміщенні не дозволяється зберігати устатковання та матеріали, що не використовуються для технічного обслуговування та ремонту ліфтів. А також не дозволяється встановлювати устатковання і прокладати комунікації, які не належать до ліфта, за винятком систем, які призначені для опалення і вентиляції вказаних приміщень. Пускорегулювальні пристрої вказаних систем і комунікацій повинні бути розміщені поза цими приміщеннями.

6.5.25. Машинне і блочне приміщення, приміщення для розміщення лебідки і блоків вантажного малого ліфта, а також шафи для розміщення устатковання за відсутності машинного приміщення повинні бути замкнені, а підходи до дверей цих приміщень і шаф - вільні.

На дверях машинного (блочного) приміщення повинен бути зроблений напис: "Машинне (блочне) приміщення. Стороннім вхід заборонено".

6.6. Устатковання ліфтів

6.6.1. Устатковання електричних ліфтів з тяговим і жорстким приводом та гідравлічних ліфтів повинно відповідати вимогам ДСТУ EN 81-1:2003 і ДСТУ EN 81-2:2003.

6.6.2. Двері шахти повинні відповідати вимогам глави 7 ДСТУ EN 81-1:2003 та ДСТУ 81-2:2003.

6.6.3. Кабіна, противага і балансувальний вантаж повинні відповідати вимогам глави 8 ДСТУ EN 81-1:2003 та ДСТУ EN 81-2:2003.

6.6.4. Підвісна система, компенсація та обмеження швидкості електричних ліфтів повинні відповідати вимогам глави 9 ДСТУ EN 81-1:2003.

6.6.5. Підвісна система і засоби проти вільного падіння, спуску з перевищеною швидкістю і сповзання кабін повинні відповідати вимогам глави 9 ДСТУ EN 81-2:2003.

6.6.6. Напрямні, буфери і кінцеві вимикачі повинні відповідати вимогам глави 10 ДСТУ EN 81-1:2003 та ДСТУ EN 81-2:2003.

6.6.7. Привод повинен відповідати вимогам глави 12 ДСТУ EN 81-1:2003 та ДСТУ EN 81-2:2003.

6.6.8. Електричне устатковання, пристрої і електропроводка повинні відповідати вимогам глави 13 EN 81-1:2003 та ДСТУ EN 81-2:2003 та мати пристрої безпеки, перелік яких наведений у додатку А ДСТУ EN 81-1:2003 та ДСТУ EN 81-2:2003.

6.6.9. Дозволяється в режимі "Ревізія" здійснювати рух кабіни під час шунтування вимикачів контролювання зачинення і замикання дверей шахти контактом(ами) при виконанні умов, зазначених у пункті 14.2.1.3 ДСТУ EN 81-1:2003 та ДСТУ EN 81-2:2003.

6.6.10 Дозволяється під час модернізації не обладнувати ліфти пристроєм завантаження у разі відповідності розмірів та вантажопідйомності кабіни ліфта, які наведені в таблицях 1.1 і 1.2 ДСТУ EN 81-1:2003 і ДСТУ EN 81-2:2003.

VII. ВИМОГИ ДО ВИГОТОВЛЕННЯ, РЕКОНСТРУКЦІЇ, МОДЕРНІЗАЦІЇЇ, РЕМОНТУ, МОНТАЖУ І НАЛАГОДЖЕННЯ ЛІФТІВ

 

7.1. Виготовлення

7.1.1. Виготовлення і поставлення на виробництво ліфтів або їх складових частин здійснюється відповідно до вимог чинних нормативних документів.

Умови праці та організація робочих місць при виготовленні ліфтів повинні відповідати ГОСТ 12.1.005:88 та ДСН 3.3.6.037-99, ДСН 3.3.6.039-99, ДСН 3.3.6.096-2002.

7.1.2. Для перевірки якості виготовлених ліфтів, підйомників та їх складових частин щодо відповідності вимогам цих Правил виробник повинен проводити їх випробовування (приймальні, типові, періодичні, сертифікаційні тощо) згідно з ГОСТ 15.001-88.

7.1.3. Виготовлені ліфти повинні бути забезпечені такою технічною документацією від виробника:

- паспортом ліфта, зразок якого наведено в додатку 1 до цих Правил;

- установчим кресленням (для ліфтів);

- настановою з експлуатації;

- настановою з монтажу, пуску, регулювання та обкатки;

- принциповою електричною (гідравлічною) схемою з переліком елементів;

- описом електроприводу і автоматики (дозволяється опис записувати в настанову з експлуатації);

- електричною (гідравлічною) схемою з'єднань, а також іншою документацією, передбаченою технічними умовами на конкретний ліфт.

Зазначена документація, крім паспорта ліфта, може бути на електронному носії. У разі поставки декількох ліфтів одного типу для встановлення на одному об'єкті технічну документацію, крім паспорта, дозволяється поставляти в одному примірнику. Принципова електрична (гідравлічна) схема та схеми з'єднань повинні бути вкладені в паспорт ліфта.

Крім технічної документації, ліфт забезпечується також табличкою або написом, де повинно бути вказано:

- назву або товарний знак виробника;

- вантажопідйомність;

- заводський номер і рік виготовлення.

Табличка (напис) повинна бути встановлена на каркасі кабіни, щоб була видною після монтажу та зберігалась протягом всього строку експлуатації ліфта.

7.1.4. Виробник заносить відомості про виготовлений ліфт до книги (файла) обліку виготовлених ліфтів з зазначенням заводського номера, дати виготовлення, назви і адреси замовника, а також веде книгу (файл) обліку отриманих рекламацій із зазначенням замовника, від якого надійшла рекламація, її короткого змісту, заводського номера ліфта і дати його виготовлення та ужитих заходів.

7.1.5. Порядок накопичення, транспортування, знешкодження і захоронення відходів під час виготовлення, монтажу (демонтажу), ремонту, реконструкції, модернізації та експлуатації ліфтів повинен відповідати ДСанПіН 2.2.7.029-99.

7.2. Монтаж, налагодження, ремонт, реконструкція, модернізація ліфтів

7.2.1. Монтаж, налагодження, ремонт, реконструкцію, модернізацію ліфтів повинні виконувати суб'єкти господарювання, які отримали дозвіл відповідно до вимог НПАОП 0.00-4.05-2003.

7.2.2. Монтаж ліфтів виконується згідно з ГСТУ 36.1-001-97 та (або) настанови з монтажу виробника ліфтів. Налагодження здійснюється згідно з настановою з налагодження виробника ліфтів.

7.2.3. Приймання ліфтів після монтажу здійснюються згідно з ГОСТ 22845.

7.2.4. Вимірювання параметрів якості руху ліфта здійснюються згідно з ДСТУ ISO 18738-2004.

7.2.5. Дистанційне керування сигналізацією на пасажирських і вантажопасажирських ліфтах здійснюється згідно з ДСТУ pr EN 81-28:2001.

7.2.6. Модернізація ліфтів здійснюється згідно з ГСТУ 36.1-002-97. Після проведення повної модернізації, яка здійснена не поетапно, складається новий паспорт. В інших випадках відомості про заміну устатковання, яка була проведена, заносяться в старий паспорт організацією, яка її провела.

VIII. ВИМОГИ ДО ЛІФТІВ, ПРИДБАНИХ ЗА КОРДОНОМ

 

8.1. Експлуатація ліфтів, придбаних за кордоном, починається після одержання в установленому порядку дозволу згідно з вимогами НПАОП 0.00-4.05-2003.

8.2. Паспорти та технічна документація на ліфти повинні бути викладені українською мовою і відповідати вимогам цих Правил.

IX. ВИМОГИ ДО ЕКСПЛУАТАЦІЇ ЛІФТІВ

 

9.1. Реєстрація

9.1.1. Новоустановлені ліфти, крім малого вантажного, підлягають реєстрації в територіальних органах спеціально уповноваженого центрального органу виконавчої влади з промислової безпеки та охорони праці.

9.1.2. Реєстрація проводиться відповідно до вимог цього розділу.

9.1.3. Для реєстрації суб'єкт господарювання, у власності або в користуванні якого є ліфти та який має намір їх експлуатувати, подає письмову заяву (додаток 3 цих Правил), паспорт ліфта (додаток 4 до цих Правил) та акт технічної готовності ліфта (ГСТУ 36.1-001-97).

У заяві зазначаються відомості про дозвіл на експлуатацію ліфтів, який отримано суб'єктом господарювання відповідно до вимог НПАОП 0.00-4.05-2003, або копія договору з організацією, яка має такий дозвіл на експлуатацію ліфтів.

У паспорті ліфта повинен бути запис про призначення особи, відповідальної за організацію робіт з технічного обслуговування і ремонту ліфта, і електромеханіка, відповідального за справний стан ліфта.

Акт технічної готовності ліфта складається організацією, яка змонтувала ліфт або виконала його заміну, реконструкцію чи модернізацію, та вкладається в паспорт ліфта разом з такою документацією:

- протокол перевірки ланцюга між нульовим проводом вводу і зануленими елементами електроустатковання (ГСТУ 36.1-001-97);

- протокол перевірки опору заземлювача (ГСТУ 36.1-001-97);

- протокол перевірки стану ізоляції електроустатковання і електричних мереж ліфта (ГСТУ 36.1-001-97);

- протокол виміру повного опору петлі "фаза-нуль" (ГСТУ 36.1-001-97);

- акт на приховані роботи (перекриття, установлення закладних деталей тощо);

- акт готовності будівельної частини (додаток 5 до цих Правил).

9.1.4. У разі встановлення двох або більше ліфтів в одному машинному приміщенні в монтажному (установчому) кресленні кожного ліфта повинно бути зображене загальне машинне приміщення із зазначенням розміщення устатковання всіх ліфтів, позначається нумерація і вказується відстань між елементами устатковання ліфтів, а у разі розміщення ліфтового устатковання в одній загальній шахті, яка не розділена по всій висоті перегородкою, в установчому кресленні кожного ліфта повинна бути зображена загальна шахта, позначається нумерація і вказуються відстані між елементами устатковання суміжних ліфтів.

9.1.5. На реєстрацію нововиготовленого ліфта подається паспорт ліфта або дублікат паспорта, складений виробником.

9.1.6. Ліфти підлягають перереєстрації після:

- реконструкції;

- модернізації, якщо був складений новий паспорт ліфта;

- передачі у власність або експлуатацію іншому суб'єкту господарювання.

9.1.7. Реєстрація здійснюється не пізніше ніж у десятиденний строк з дня одержання документів територіальним органом виконавчої влади з промислової безпеки та охорони праці.

У разі відмови в реєстрації повинно бути письмово вказано причину відмови з посиланням на відповідні пункти цих Правил.

9.1.8. Ліфт знімається з реєстрації в територіальних органах спеціально уповноваженого центрального органу виконавчої влади з промислової безпеки та охорони праці за заявою суб'єкта господарювання у разі:

- списання ліфта, що став не придатним для подальшої експлуатації;

- демонтажу.

9.1.9. Ліфти вантажні малі споряджаються індивідуальним номером і під цим номером обліковуються в журналі обліку суб'єкта господарювання.

9.2. Технічний огляд, експертне обстеження і введення в експлуатацію

9.2.1. У процесі експлуатації ліфти підлягають технічним оглядам і експертним обстеженням, проведення яких здійснюється згідно з НПАОП 0.00-6.18-2004 і цим розділом.

9.2.2. Ліфти повинні підлягати технічним оглядам:

- первинному (повному);

- періодичному (черговому);

- позачерговому.

Технічний огляд ліфтів проводять у кілька етапів:

- вивчення експлуатаційних, конструкторських (проектних) і ремонтних документів (у разі наявності);

- аналіз умов та режимів експлуатації;

- проведення огляду;

- проведення випробовування, неруйнівного контролю, якщо це передбачено нормативно-правовими актами з охорони праці, організаційно-методичними та експлуатаційними документами;

- оцінка технічного стану;

- визначення умов та строку подальшої експлуатації.

9.2.3. Технічний огляд устатковання проводить спеціалізована організація (крім первинного та позачергового, який проводить уповноважена організація у разі закінчення граничного строку експлуатації, виникнення аварії або пошкодження, спричиненого надзвичайною ситуацією природного або технічного характеру).

9.2.4. Суб'єкт господарювання не пізніше ніж за 5 днів до дати проведення технічного огляду повідомляє про це у письмовій формі спеціалізовану організацію, а про проведення первинного або позачергового технічного огляду у разі закінчення граничного строку експлуатації, виникнення аварії або пошкодження, спричиненого надзвичайною ситуацією природного або технічного характеру, - уповноважену організацію.

9.2.5. У разі, коли через несправність або з інших причин неможливо провести технічний огляд устатковання в зазначений строк, роботодавець зобов'язаний зробити це достроково або припинити експлуатацію устатковання.

9.2.6. Під час проведення технічного огляду ліфта (крім первинного) повинні бути присутні:

- суб'єкт господарювання або уповноважена ним особа;

- особа, відповідальна за організацію робіт з технічного обслуговування і ремонту ліфтів;

- електромеханік, відповідальний за справний стан ліфта.

Під час проведення первинного технічного огляду, який проводить уповноважена організація, крім осіб, вказаних в пункті 9.2.6 цих Правил, повинні бути присутні:

1) представник будівельної організації, яка побудувала будівельну частину ліфта;

2) представник монтажної організації, яка змонтувала ліфт.

9.2.7. У разі виявлення в процесі технічного огляду порушень, вказаних у пункті 9.7.15, робота ліфта повинна бути призупинена до їх усунення і в паспорті ліфта повинен бути зроблений відповідний запис особою, яка його проводила.

Дозволяється введення ліфта в експлуатацію, якщо виявлені несправності були усунені в процесі перевірки і технічного огляду.

9.3. Первинний (повний) технічний огляд

9.3.1. Первинний (повний) технічний огляд ліфтів проводять після установлення ліфта перед введенням в експлуатацію.

Під час проведення повного технічного огляду ліфт повинен підлягати огляду, перевірянням і динамічному випробовуванню.

Випробовування ліфта проводять відповідно до вимог інструкції виробника ліфта, якщо така є. У разі її відсутності - в обсязі вимог цього розділу.

9.3.2. Під час огляду ліфта повинно бути перевірено:

- стан устатковання і його кріплень, канатів, ланцюгів, електропроводки, огорожі шахти, огорожі машинного і блочного приміщень, а також відстані і розміри, регламентовані цими Правилами;

- наявність і стан заводських табличок і графічних символів;

- наявність і стан технічної документації;

- наявність дозволу на експлуатацію (технічне обслуговування) і ремонт ліфтів;

- відповідність установлення ліфта установчому кресленню і наявність у ньому і в принциповій електричній схемі записів відповідальної особи про відповідність виконаних монтажних робіт кресленням. Записи повинні бути підписані відповідальною особою.

9.3.3. Під час перевіряння ліфта з порожньою кабіною повинна бути проконтрольована робота:

- лебідки;

- дверей кабіни і шахти;

- пристроїв безпеки, крім тих, які перевіряються під час динамічного випробовування ліфта;

- системи керування;

- сигналізації і освітлення;

- гідроприводу (витікання і тиск робочої рідини) у гідравлічного ліфта.

Зовнішнім оглядом слід перевірити стан купе кабіни.

Крім того, у ліфта, обладнаного лебідкою з канатотяговим шківом, перевірити неможливість підіймання противаги за нерухомої кабіни.

9.3.4. Під час динамічного випробовування ліфта повинні бути перевірені міцність механізмів ліфта, його кабіни, підвісок, канатів (ланцюгів) і їх кріплення, а також дія гальма.

У ліфта, обладнаного лебідкою з канатотяговим шківом, додатково перевірити відсутність сковзання канатів у канавках шківа.

Під час випробовування гідравлічного ліфта перевіряється міцність і герметичність гідроциліндра і трубопроводів, міцність конструкцій і правильність налагоджування запобіжного клапана та його спрацювання.

А також повинно бути перевірено, що кабіна з номінальним навантаженням, установлена на верхньому поверсі, не опускається більше ніж на 10 мм вниз за 10 хв.

9.3.5. Під час випробовування ліфта з електроприводом постійного струму або з частотним регулюванням, у яких передбачене утримання кабіни на рівні поверхової площадки за рахунок магнітного поля (крутильного моменту) електродвигуна, додатково перевірити надійність електричного гальмування, тобто утримання кабіни приводом з розімкнутим механічним гальмом у разі наявності в кабіні рівномірно розподіленого на підлозі вантажу, маса якого дорівнює вантажопідйомності ліфта, визначеній за фактичною корисною площею підлоги кабіни, під час розміщення кабіни на рівні нижньої і верхньої поверхової площадок протягом максимального часу, який вказаний в інструкції виробника на кожній з них.

9.3.6. Під час динамічного випробовування ліфта перевірити в дії його механізми, спрацювання уловлювачів і обмежувача швидкості, а також перевірити точність зупинення кабіни.

Випробовування буферів кабіни повинно проводитись тільки після монтажу ліфта.

Випробовування, крім перевіряння точності зупинки кабіни, проводити за наявності в кабіні рівномірно розподіленого на підлозі вантажу, маса якого дорівнює вантажопідйомності ліфта.

Перевіряння точності зупинення кабіни повинно проводитись під час руху в обох напрямках порожньої кабіни і кабіни з вантажем, маса якого дорівнює вантажопідйомності ліфта.

9.3.7. Випробовування буферів повинно проводитись з номінальною або зменшеною (вказаною виробником в інструкції по випробовуванню ліфта) швидкістю руху кабіни (противаги), крім гідравлічних буферів, зі зменшеним ходом плунжера.

Випробовування гідравлічних буферів зі зменшеним ходом плунжера повинно проводитись зі швидкістю руху кабіни (противаги) на 15 % менше від швидкості, на яку вони розраховані. У цьому випадку в паспорті ліфта повинна бути указана швидкість, за якої випробовуються буфери.

9.3.8. Під час випробовування буферів повинна бути унеможливлена дія пристрою уповільнення і точного зупинення на нижній і верхній поверхових площадках.

Вимкнення електродвигуна перед посадкою кабіни або противаги на буфер здійснюється кінцевим вимикачем.

9.3.9. Результати випробовувань буфера вважаються незадовільними, якщо:

- у пружинного буфера під час посадки кабіни або противаги на нього відбувається повне стискання пружини або її поломка;

- у гідравлічного буфера відбувається заїдання плунжера під час посадки кабіни або противаги на буфер або у разі зворотного його ходу після зняття кабіни (противаги) з буфера.

9.3.10. Уловлювачі, які випробовуються, повинні зупиняти і утримувати на напрямних кабіну (противагу), яка рухається вниз з вантажем.

Випробовування проводиться на спуску кабіни з необхідним вантажем, рівномірно розподіленим на підлозі кабіни, під час роботи привода за таких умов:

1) уловлювачі миттєвої дії або миттєвої дії з буферним ефектом:

кабіна повинна бути з номінальним навантаженням і рухатися з номінальною швидкістю;

2) уловлювачі поступової дії:

кабіна повинна бути навантажена на 125 % від номінального навантаження у ліфтів з жорстким приводом і номінальним навантаженням у гідравлічних ліфтів і рухатися вниз з номінальною швидкістю або меншою.

9.3.11. Уловлювачі, які приводяться в дію від обмежувача швидкості, випробовуються без обриву та імітації обриву тягових канатів (ланцюгів).

9.3.12. Уловлювачі, які приводяться в дію пристроєм, який спрацьовує від обриву або слабини всіх тягових канатів (ланцюгів), випробовуються від дії цього пристрою.

Кабіна (противага) повинна бути розміщена в нижній частині шахти, а шлях, який проходить кабіна (противага) з моменту початку падіння до посадки її на уловлювачі, повинен бути не більше ніж 100 мм.

У випадку несправності уловлювачів повинно бути унеможливлено падіння кабіни (противаги) на відстань більше ніж 200 мм за рахунок використання будь-яких пристроїв, установлених в шахті на період випробовування.

9.3.13. Уловлювачі, які приводяться в дію від обмежувачів швидкості і від пристрою, який спрацьовує від обриву або слабини всіх тягових канатів (ланцюгів), повинні випробовуватись незалежно від кожного з приводних пристроїв.

9.3.14. Після проведення випробовувань треба переконатися, що не відбулося ніяких несприятливих змін, які можуть впливати на нормальну роботу ліфта. Якщо потрібно, можуть бути замінені тертьові компоненти. Візуальне перевіряння вважається достатнім.

9.3.15. Обмежувач швидкості повинен бути випробуваний на спрацювання за частоти обертання, яка відповідає швидкості руху кабіни (противаги), зазначеній в пункті 9.9.1 ДСТУ EN 81-1:2003 і пункті 9.10.2.1 EN 81-2:2003, а також на його здатність приводити в дію уловлювачі під час перебування каната обмежувача швидкості на робочому шківі.

9.3.16. Якщо у ліфта самостійного користування корисна площа підлоги кабіни перевищує площу, зазначену в таблиці 1 цих Правил для його вантажопідйомності, крім перевірок і випробовувань, викладених в цьому підрозділі, повинна бути перевірена неможливість введення в дію ліфта з кабіни або з поверхової площадки у разі завантаження кабіни масою, яка перевищує на 10 % вантажопідйомність ліфта.

9.3.17. Дозволяється випробовування ліфта проводити за іншою методикою, узгодженою з спеціально уповноваженим центральним органом виконавчої влади з промислової безпеки та охорони праці.

9.4. Періодичний (черговий) технічний огляд

9.4.1. Періодичному технічному огляду підлягають ліфти не рідше одного разу на 24 місяці протягом установленого строку служби, якщо інше не встановлено експлуатаційними документами виробника.

9.4.2. Під час періодичного технічного огляду ліфт повинен підлягати огляду, перевірянням в обсязі вимог пункту 9.3.2 цих Правил, крім перевірок, регламентованих пунктом 6.4.23 цих Правил, відстаней і розмірів, які не змінюються в процесі експлуатації ліфта, а також акта на приховані роботи.

Перевіряння опору ізоляції повинні бути проведені після закінчення робіт з підготовлення електроустаткування до технічного огляду.

Перевіряння елементів заземлення і повного опору петлі "фаза-нуль" повинно бути проведене в термін, установлений ПТЕ.

9.4.3. Перевіряння спрацювання уловлювачів ліфта проводять із не завантаженою кабіною і на зменшеній швидкості, якщо це можливо здійснити. При цьому повинні бути проведені перевіряння, зазначені в пункті 9.3.3 цих Правил.

9.5. Позачерговий технічний огляд

9.5.1. Позачерговий технічний огляд ліфта проводять у разі:

- введення його в експлуатацію після ремонту, реконструкції або модернізації;

- перерви в експлуатації більше як на 12 місяців;

- демонтажу та встановлення на новому місці;

- закінчення граничного строку експлуатації (із застосуванням видів робіт, що не використовувались під час експертного обстеження);

- експлуатаційної чи деградаційної відмови, виявлення зносу (механічного або корозійного), залишкової деформації, тріщин, інших пошкоджень складових частин, деталей або їх елементів;

- аварії або пошкодження, спричиненого надзвичайною ситуацією природного чи техногенного характеру.

В інших випадках позачерговий технічний огляд проводиться відповідно до вимог нормативно-правових актів з охорони праці або за ініціативою роботодавця.

У разі проведення позачергового технічного огляду в паспорті ліфта зазначається причина його проведення.

До складу робіт з проведення позачергового технічного огляду входять перевіряння і випробовування такі ж, як при проведенні первинного технічного огляду згідно з розділом 9.3, за винятком пунктів 9.3.7 - 9.3.9 цих Правил.

9.5.2. Якщо під час проведення ремонту були замінені:

- тягові канати (ланцюги);

- канатотяговий шків;

- лебідка;

- ущільнювачі гідроциліндра, повністю або частково трубопроводи гідравлічного ліфта;

- уловлювачі, обмежувач швидкості, буфер, НКП;

- електрична схема;

- електропроводка силового ланцюга або ланцюга керування;

- вимикачі безпеки;

- автоматичні замки дверей шахти,

то під час проведення позачергового технічного огляду після ремонту новоустановлені елементи повинні підлягати огляду для визначення їх стану, перевірянню на функціонування, а у випадках, зазначених у пункті 9.5.3 цих Правил, - випробуванню.

9.5.3. Випробуванню підлягають такі елементи ліфта у випадках їх заміни:

- тягові канати (ланцюги);

- лебідка;

- канатотяговий шків;

- уловлювачі;

- гідравлічний буфер;

- обмежувач швидкості;

- ущільнення гідроциліндра, трубопроводи, пристрій зупинки кабіни у гідравлічного ліфта.

Випробуванню підлягає також лебідка після її капітального ремонту.

Обсяг випробовувань і методика їх проведення повинні бути такими, як під час випробовування указаних елементів у разі проведення повного технічного огляду.

9.5.4. Після закінчення технічного огляду фахівець, який його провів, робить відповідний запис у паспорті устаткування про результати технічного огляду, дозволені параметри експлуатації і строк наступного технічного огляду, скріплюючи запис підписом і печаткою.

9.5.5. Суб'єкт господарювання за підсумками технічного огляду зазначає дані про дозволені параметри експлуатації і строк наступного технічного огляду в експлуатаційних або організаційно-методичних документах.

9.6. Експертне обстеження (технічне діагностування) ліфтів

9.6.1. Експертне обстеження проводиться у разі:

- закінчення граничного строку експлуатації;

- реконструкції (перебудови) або модернізації, якщо це обумовлено нормативно-правовими актами з охорони праці;

- аварії або пошкодження, спричиненого надзвичайною ситуацією природного чи техногенного характеру, з метою визначення можливості відновлення;

- виявлення під час проведення технічного огляду зносу (механічного або корозійного), залишкової деформації, тріщин, інших пошкоджень складових частин, деталей або їх елементів, що перевищують допустимі значення.

В інших випадках експертне обстеження устатковання проводять відповідно до вимог нормативно-правових актів з охорони праці або за ініціативою роботодавця.

9.6.2. За висновком експертизи роботодавець приймає рішення про експлуатацію устатковання в межах продовжуваного строку безпечної експлуатації, його заміну, ремонт, реконструкцію (перебудову), модернізацію або зміну параметрів експлуатації.

9.6.3. Введення устатковання в експлуатацію після проведення експертного обстеження здійснюється відповідно до порядку, встановленого у НПАОП 0.00-6.18-2004, організаційно-методичних та експлуатаційних документів.

9.6.4. Рішення про поновлення роботи ліфтів приймає посадова особа Держгірпромнагляду України, яка заборонила їх експлуатацію, після усунення порушень, відмічених у приписі, згідно з вимогами Положення про порядок організації державного нагляду за охороною праці та гірничого нагляду в системі Держнаглядохоронпраці України, затвердженого наказом Держнаглядохоронпраці України від 30.03.2004 N 92, зареєстрованого в Міністерстві юстиції України 31.08.2004 за N 1074/9673.

9.7. Експлуатація ліфтів

9.7.1.Суб'єкт господарювання, який має намір розпочати (продовжити) експлуатацію ліфтів, повинен отримати дозвіл відповідно до вимог НПАОП 0.00-4.05-2003 і забезпечувати їх утримання в справному стані та безпечно експлуатувати шляхом організації належного технічного обслуговування, технічного огляду та ремонту. З цією метою він повинен:

- призначати наказом працівників, відповідальних за організацію робіт з технічного обслуговування і ремонту ліфтів та організацію їх експлуатації;

- призначати наказом електромеханіків, які одночасно є відповідальними особами за їх справний стан;

- призначати наказом ліфтерів і операторів диспетчерського зв'язку (якщо такий є).

9.7.2. Всі вказані працівники повинні проходити навчання і перевірку знань згідно з вимогами НПАОП 0.00-4.12-2005.

9.7.3. Працівники, відповідальні за організацію робіт з технічного обслуговування та ремонт ліфтів і за організацію експлуатації ліфтів, повинні бути забезпечені цими Правилами та посадовими інструкціями, а електромеханіки, ліфтери і оператори - виробничими інструкціями і інструкціями з охорони праці, що розроблені і затверджені відповідно до вимог НПАОП 0.00-4.15-98.

9.7.4. Дозволяється покладати на одну особу обов'язки працівника, відповідального за організацію робіт з технічного обслуговування та ремонту ліфтів і працівника, відповідального за організацію експлуатації ліфтів.

9.7.5. Ліфтерами, операторами і електромеханіками повинні призначатися особи не молодше 18 років, які пройшли медичний огляд.

9.7.6. Особи, зазначені в цьому розділі, повинні мати групи з електробезпеки не нижче:

- IV - особа, відповідальна за організацію робіт з технічного обслуговування і ремонту ліфта;

- III - електромеханік, який здійснює технічне обслуговування і ремонт ліфта, а також електромеханік I - II кваліфікаційних розрядів, який здійснює огляд ліфтів;

- II - ліфтер і оператор.

9.7.7. Електромеханіки, які здійснюють технічне обслуговування і ремонт ліфтів, повинні мати практичний стаж з обслуговування ліфтів або їх монтажу не менше шести місяців. Особи, які не мають шестимісячного практичного стажу або мають I - II кваліфікаційні розряди електромеханіка з ліфтів, можуть залучатись до виконання цих робіт тільки під керівництвом електромеханіка, який має право на виконання робіт з технічного обслуговування і ремонту ліфтів.

9.7.8. Посада, прізвище, ім'я та по батькові і підпис працівників, відповідальних за організацію робіт з технічного обслуговування і ремонту ліфта та за його справний стан, дата й номер наказу про призначення й закріплення за ними ліфта, а також їх підписи заносяться до паспорта ліфта.

На час відпустки, відрядження або хвороби працівника, відповідального за організацію робіт з технічного обслуговування і ремонту ліфта, або електромеханіка, відповідального за його справний стан, їх обов'язки покладаються наказом на інших працівників, навчених відповідно до вимог НПАОП-0.00-4.12-2005.

9.7.9. Кожний ліфт, крім диспетчеризованого, повинен підлягати огляду ліфтером відповідно до вимог його виробничої інструкції.

Диспетчеризовані ліфти підлягають огляду з періодичністю, визначеною організаціями, які його проводять.

Огляд ліфтів може доручатись електромеханіку, який здійснює технічне обслуговування і ремонт ліфтів.

Результати огляду заносяться до журналу оглядів ліфтів.

9.7.10. Вся інформація про виконаний ремонт на ліфті (вид ремонту, дата виконання, прізвище та підпис виконавця роботи) та відмітки про усунення несправностей заносяться виконавцем в журнал технічного огляду, який знаходиться в машинному приміщенні.

Електромеханіки ліфтової аварійної служби (ЛАС) також зобов'язані записувати в цьому журналі дату, перелік виконаних робіт, прізвище та підпис виконавця.

9.7.11. Керування пасажирським, вантажним і лікарняним ліфтами з внутрішнім керуванням повинно бути доручено ліфтерам.

Керування пасажирським, вантажним і лікарняним ліфтами самостійного користування здійснюється особами, які користуються цими ліфтами.

Керування вантажним ліфтом з зовнішнім керуванням і вантажним малим ліфтом може здійснюватися особами, які користуються цими ліфтами.

Вимоги цього пункту не поширюються на керування, яке здійснюється з даху кабіни, з машинного приміщення або з шафи, де розміщена НКП.

9.7.12. Суб'єкт господарювання забезпечує наявність правил користування пасажирським ліфтом самостійного користування (далі - Правила користування пасажирським ліфтом), в яких зазначаються короткі відомості про порядок користування ліфтом.

У правилах користування пасажирським ліфтом, що установлений в житловому будинку, повинна бути передбачена заборона проїзду дітей дошкільного віку без супроводу дорослих, заборона пуску кабіни з поверхової площадки, а також порядок перевезення немовлят в дитячих колясках.

У Правилах користування вантажним ліфтом з внутрішнім керуванням і вантажним ліфтом самостійного користування повинна бути передбачена заборона одночасного перевезення пасажира і вантажу.

У правилах користування вантажним ліфтом з зовнішнім керуванням повинна бути передбачена заборона перевезення людей.

9.7.13. Правила користування ліфтом повинні бути вивішені:

- на основному (першому) поверсі або в кабіні - у разі змішаного керування;

- у кабіні - у разі внутрішнього керування;

- біля кожного поста керування - у разі зовнішнього керування.

У разі групового керування на основному поверсі дозволяється вивішувати одну табличку правил, яка стосується всієї групи ліфтів.

9.7.14. На основному поверсі повинна бути вивішена табличка із зазначенням:

- назви ліфта (за призначенням);

- вантажопідйомності (із зазначенням допустимого числа пасажирів);

- реєстраційного номера;

- номера телефону для зв'язку з обслуговуючим персоналом або з аварійною службою.

У ліфта самостійного користування в табличці також указується місцеперебування обслуговуючого персоналу.

На всіх дверях шахти ліфта з зовнішнім керуванням роблять написи про вантажопідйомність ліфта і про заборону перевезення людей.

9.7.15. Робота ліфта не дозволяється, якщо:

- відсутній паспорт чи відомості про реєстрацію;

- не проведено технічний огляд або експертне обстеження ліфта;

- закінчився зазначений у паспорті термін роботи ліфта;

- не призначено наказом працівників, відповідальних за організацію робіт з технічного обслуговування і ремонту ліфтів, за організацію експлуатації та за справний стан ліфтів;

- відсутній атестований обслуговуючий персонал (електромеханіки, ліфтери);

- не виконані приписи посадових осіб спеціально уповноваженого центрального органу виконавчої влади з промислової безпеки та охорони праці;

- знос канатів перевищує встановлені норми;

- є тріщини, деформації в металоконструкціях ліфта;

- несправні прилади і пристрої безпеки, а також мають місце інші несправності, які впливають на безпечну експлуатацію ліфта.

9.7.16. Суб'єкт господарювання, який експлуатує ліфти, може укласти договір на технічне обслуговування і ремонт ліфтів з організацією, яка має дозвіл на виконання цих робіт.

9.8. Диспетчеризація ліфтів

9.8.1. Пасажирські, вантажопасажирські ліфти, встановлені в житлових будинках, повинні обладнуватись двостороннім зв'язком з диспетчерським пунктом або пунктом розміщення обслуговуючого персоналу на весь строк їх експлуатації.

9.8.2. Диспетчерський контроль за роботою ліфтів повинен відповідати таким вимогам:

- для всіх ліфтів, крім вантажних малих, між диспетчерським пунктом і кабіною ліфта обладнується двосторонній переговорний зв'язок;

- для пасажирських ліфтів з обертально-розкривними дверима, крім двостороннього переговорного зв'язку, на диспетчерському пункті повинна забезпечуватись сигналізація зачинення всіх дверей шахти і в разі наявності пасажира в кабіні.

9.8.3. Дозволяється підключення до ліфтових установок устатковання, яке призначене для контролю за їх роботою і технічним станом. Підключення цього устатковання проводиться відповідно за схемою підприємства - виробника цього устатковання.

X. БУДІВЕЛЬНІ ПІДЙОМНИКИ

 

10.1. На будівельні підйомники поширюється дія цих Правил з урахуванням вимог щодо будівельних підйомників, викладених у цій главі.

Виробник забезпечує кожний будівельний підйомник паспортом, зразок якого наведений у додатку 5 до цих Правил.

10.2. Технічний огляд вказаних підйомників проводиться згідно з вимогами цієї глави та порядком, зазначеним у розділі 9.2 цих Правил.

Повний технічний огляд підйомників проводиться після встановлення підйомника, а також один раз на 4 роки. Під час проведення повного технічного огляду підйомник повинен підлягати огляду, перевіркам в обсязі, зазначеному в пунктах 9.3.2 і 9.3.3 цих Правил, та випробуванню (статичному і динамічному).

Випробовування підйомника проводиться згідно з настановою виробника підйомника про порядок його проведення, якщо така є. В разі її відсутності - в обсязі цієї глави.

Статичне випробування проводиться вантажем, який перевищує вантажопідйомність на:

- 50 % - вантажного підйомника;

- 100 % - підйомника з провідником.

Кабіна з рівномірно розподіленим вантажем на підлозі утримується на рівні нижньої завантажувальної площадки протягом 10 хвилин.

Під час проведення динамічного випробовування підйомника перевіряються в дії його механізми, спрацювання обмежувача швидкості і уловлювачів. Випробовування проводиться за наявності в кабіні рівномірно розподіленого на підлозі вантажу, маса якого перевищує вантажопідйомність підйомника на 10 %.

Періодичний технічний огляд підйомників проводиться не рідше одного разу на 12 місяців в обсязі розділу 9.4 цих Правил.

Позачерговий (повний та частковий) технічний огляд проводиться у випадках і в обсязі, що передбачені у розділі 9.5 цих Правил.

10.3. Шахта вантажних підйомників може не обладнуватись. У підйомника з провідником на нижній посадочній (завантажувальній) площадці повинна бути обладнана огорожа шляху руху кабіни і противага на висоту не менше 2000 мм від рівня посадочної (завантажувальної) площадки.

Огорожа повинна бути забезпечена дверима.

10.4. Місце на верхній і проміжних зупинках кабіни (платформи) повинно бути обладнане приймальними площадками, які огороджені перилами, що забезпечує безпечне завантаження і розвантаження будівельних матеріалів або вихід з кабіни людей.

10.5. Щоглу підйомника треба кріпити до елементів будинку, який споруджується, жорсткими металевими конструкціями або розтяжками зі сталевого каната, забезпеченого пристроєм для регулювання натягу.

Дозволяється установлення підйомника без закріплення щогли. В цьому випадку він повинен бути розрахований на стійкість з урахуванням діючих експлуатаційних і випробувальних навантажень.

10.6. Можливість кріплення підйомника до елементів будинку повинна бути підтверджена висновком проектно-будівельної організації.

10.7. Улаштування приямка у підйомників не обов'язкове.

10.8. Для обслуговування механізмів і електроустаткування до них повинен бути забезпечений зручний і безпечний доступ.

10.9. У підйомників з провідником у тих випадках, коли шахта не має огорожі або неможливо витримати передбачену цими Правилами відстань між порогом вантажної площадки і порогом кабіни, дозволяється обладнувати вихід з кабіни на площадку через висувний трап, керування яким забезпечується з кабіни після її зупинення.

Висувний трап перед тим, як будуть відчинені двері кабіни, повинен бути надійно зафіксований від самовільного зміщення.

10.10. У разі розміщення висувного трапа на одному рівні з вантажною площадкою відстань між їх порогами повинна бути не менше ніж 50 мм і не більше ніж 100 мм.

10.11. З бокових сторін висувний трап повинен мати перила висотою не менше ніж 1000 мм, а його граничне положення - зафіксоване жорсткими упорами.

10.12. Дозволяється платформу підйомників без провідника огороджувати з трьох сторін за умови наявності пристрою, який запобігає можливому сповзанню вантажу за габарити платформи. Огорожею з однієї сторони можуть бути двері, які замикаються. Висота огорожі повинна бути не менше ніж 1000 мм з суцільним обшиттям знизу на висоту не менше ніж 200 мм. Для платформ, на які забороняється вихід людей, висота огорожі може бути зменшена до 500 мм.

10.13. Платформи, які призначені для підіймання вагонеток або візків, повинні бути обладнані упорами або замками, які запобігають зрушенню вагонетки або візка з місця.

10.14. Підйомники, які обладнані висувним трапом, а також підйомники з поворотною платформою повинні бути обладнані пристроєм, який запобігає мимовільному переміщенню трапа або платформи.

10.15. У підйомників з висувним трапом відчинення дверей кабіни повинно бути заблоковане з висувним трапом так, щоб двері відчинялись тільки після висування трапа на величину робочого ходу, а зворотне переміщення трапа могло відбуватись тільки в разі зачинених дверей кабіни.

10.16. Двері кабіни підйомника з провідником і нижньої огорожі його повинні замикатись і відмикатись ключем, який знаходиться у провідника. Застосування автоматичного замка не обов'язкове.

10.17. Кабіна і платформа підйомника повинні бути обладнані уловлювачами. Приведення в дію уловлювачів підйомників з провідником повинно здійснюватись обмежувачем швидкості. Уловлювачі вантажних підйомників можуть приводитись у дію за допомогою механічного зв'язку їх з несучими канатами.

10.18. Діаметр барабана і блоків вантажних підйомників визначається за формулою

Д > e d,

де:

Д - діаметр барабана (блока), який вимірюється за середньою лінією огинального каната, мм;

d - діаметр каната, мм;

значення коефіцієнта "e" не менше 18.

Запас міцності канатів підйомників, на платформу яких забороняється вихід людей, повинен прийматись не менше 5.

10.19. У підйомників без провідника дозволяється багатошарове намотування канатів на гладенький барабан, у якого кут набігання каната на барабан за відсутності канатоукладача не повинен перевищувати 3°.

10.20. Гладенький барабан, а також барабан з канавками, призначені для однієї вітки каната, повинні бути зроблені з ребордами. Реборди повинні підвищуватись над верхнім шаром каната не менше ніж на два його діаметри.

10.21. Підйомники повинні бути обладнані кінцевими вимикачами, які вимикають привод у разі переходу кабіною (платформою) крайніх робочих положень не більше ніж на 200 мм.

10.22. Двері кабіни з шахти підйомників з провідником повинні мати електричні контакти, які контролюють зачинення стулок, а в тих випадках, коли двері оснащені автоматичним замком, повинен бути установлений контакт, який контролює його замикання.

10.23. У підйомниках з провідником апарат керування повинен бути установлений в кабіні.

У підйомниках без провідника апарат керування установлюється в безпечному місці і повинна бути забезпечена достатня видимість вантажно-розвантажувальних площадок.

Дозволяється керування декількома підйомниками без провідника одним оператором із загального пульта.

10.24. Замість машинного приміщення дозволяється обгороджувати лебідку. Устаткування блочного приміщення є не обов'язковим. Робоче місце оператора повинно бути захищене від атмосферних опадів, утеплене і, за необхідності, повинно мати достатньо міцне перекриття.

10.25. Гнучкий кабель, підвішений до кабіни (платформи), може закріплюватись на будинку або мати пристрій, який запобігає його розгойдуванню.

10.26. До місця керування підйомником повинна бути підведена сигналізація з усіх поверхів, на яких відбувається завантаження і розвантаження.

10.27. У кабіні підйомників без провідника повинен бути установлений сигнальний пристрій, не залежний від електроживлення підйомника, для викликання чергового персоналу.

10.28. Правила користування підйомником повинні бути вивішені на поверхових площадках, з яких проводиться завантаження або розвантаження кабіни (платформи).

Правила користування повинні містити:

- спосіб завантаження;

- спосіб сигналізації;

- заборону транспортування людей на платформах вантажних будівельних підйомників та інші вказівки з обслуговування підйомника.

10.29. Біля всіх місць завантаження і розвантаження кабіни або платформи повинні бути зроблені написи, які зазначають масу граничного вантажу, який дозволяється підіймати і опускати.

10.30. Суб'єкт господарювання, який використовує підйомники, крім виконання цих вимог, вживає заходи по забезпеченню безпечної експлуатації підйомників з урахуванням їх конструкції і місцевих умов установки.

10.31. Суб'єкт господарювання, який використовує підйомники для устаткування вантажно-розвантажувальних площадок, повинен враховувати місцеві умови: характер вантажів, які транспортуються, конструкцію і форму будівельного об'єкта тощо, на підставі чинних Будівельних норм і правил.

10.32. Будівельні підйомники, призначені для роботи з провідником, до введення в експлуатацію підлягають реєстрації в територіальних органах спеціально уповноваженого центрального органу виконавчої влади з промислової безпеки та охорони праці відповідно до розділу 9.1 цих Правил.

10.33. Будівельні підйомники, призначені тільки для підіймання вантажів без провідника, споряджаються індивідуальним номером і під цим номером обліковуються в журналі обліку суб'єкта господарювання.

XI. ЕЛЕКТРИЧНІ БАГАТОКАБІННІ ПАСАЖИРСЬКІ ПІДЙОМНИКИ БЕЗПЕРЕРВНОЇ ДІЇ

 

11.1. Загальні вимоги

11.1.1. На підйомники поширюються вимоги глави VI цих Правил, крім пунктів 6.1.12, 6.1.16 цих Правил.

11.1.2. Номінальна швидкість руху кабіни повинна бути не більше ніж 0,3 м/с.

11.1.3. Максимальна величина уповільнення кабіни під час зупинення кнопкою "Стоп" або спрацювання іншого вимикача безпеки - не більше ніж 3 м/с2.

11.1.4. В одній кабіні дозволяється перебування одного або двох пасажирів залежно від площі підлоги кабіни відповідно до пункту 11.4.7 цих Правил.

Транспортування в підйомнику вантажів не дозволяється.

11.1.5. Відстань між суміжними кабінами повинна бути такою, щоб на дільницях, де відбувається зміна напряму руху, кабіна, яка йде попереду, входила в напрямну до того, як наступна за нею кабіна досягне кінця внутрішньої напрямної.

11.1.6. Підйомник повинен бути обладнаний пристроєм, який виключає можливість руху кабіни в зворотному напрямі під час вмикання електродвигуна лебідки.

11.1.7. Підприємство-виробник забезпечує кожний виготовлений підйомник табличкою, в якій зазначається:

- назва або товарний знак підприємства-виробника;

- місткість однієї кабіни;

- заводський номер і рік виготовлення підйомника.

Табличка повинна бути встановлена підприємством-виробником на рамі лебідки так, щоб її було видно після монтажу підйомника та зберігалась протягом всього строку експлуатації підйомника.

11.2. Будівельна частина і розміщення устаткування

11.2.1. Будівельна частина повинна відповідати вимогам розділу 6.3 цих Правил, крім пункту 6.3.6 цих Правил.

11.2.2. Всі підходи до підйомника повинні бути вільними і мати освітлення відповідно до вимог пункту 11.6.21 цих Правил.

Підлога посадочної (завантажувальної) площадки на відстані не менше ніж 750 мм перед входом в кабіну повинна бути рівною і не повинна допускати ковзання ніг.

11.2.3. Шахта обгороджується з усіх сторін і на всю висоту. Улаштування перекриття, яке відокремлює шахту від машинного приміщення і від приміщення натяжних пристроїв, не вимагається.

У шахті не вимагається встановлення перегородки, що відокремлює кабіни, які підіймаються, від кабін, що опускаються.

11.2.4. Застосування сітки для огорожі шахти і застосування скла для огорожі шахти з боку входу в кабіну не дозволяється.

Шахта, для часткової огорожі якої застосовується скло, з боку прилеглих до неї площадок і сходів, на яких можуть перебувати люди, повинна мати огорожу або грати відповідно до вимог пункту 6.4.2 цих Правил.

11.2.5. В огорожі шахти для проходу в кабіну повинні бути зроблені вхідні прорізи, які не мають дверей.

Ширина вхідного прорізу шахти дорівнює ширині вхідного прорізу кабіни, а його висота - не менше ніж 2600 мм і не більше ніж 3000 мм.

11.2.6. Вхідні прорізи шахти не розміщуються на дільницях, де відбувається зміна напряму руху кабіни, як вгорі, так і внизу шахти.

11.2.7. В огорожі шахти дозволяється робити прорізи для вентиляції і обслуговування устатковання відповідно до вимог пункту 6.4.5 цих Правил.

Дозволяється збільшення розмірів прорізу, призначеного для обслуговування устатковання, до 600 х 2000 мм (ширина х висоту).

11.2.8. Для зручності обслуговування підйомника огорожу шахти в межах нижнього поверху дозволяється виконувати знімними щитами. Кріплення щитів повинно унеможливлювати їх знімання без застосування інструменту.

11.2.9. Внутрішня поверхня стіни шахти збоку входу в кабіну на всю ширину дверного прорізу повинна бути без виступів і виїмок.

На цій поверхні дозволяються виступи не більше ніж 25 мм за умови устатковання зверху і знизу скосів під кутом не менше ніж 75° по горизонталі. Ці скоси повинні бути обладнані на всю ширину виступу.

11.2.10. Розміщення підлоги і даху машинного приміщення і приміщення натяжних пристроїв повинно бути таким, щоб при граничних верхньому і нижньому положеннях кабіни, які досягаються в разі зміни напрямків їх руху, залишалась відстань не менше ніж 500 мм між частиною, яка найбільше виступає, і підлогою (стелею).

11.2.11. Розміщення шахти над проходами і приміщеннями, в яких можуть перебувати люди, крім машинного приміщення і приміщення натяжних пристроїв, не дозволяється.

11.2.12. На дільницях, де відбувається зміна напряму руху кабіни (зверху і знизу шахти), з боку входу в кабіну повинні бути установлені вертикальні суцільні гладенькі щити, які повністю перекривають вхідний проріз кабіни, яка рухається. Ці щити повинні також перекривати приводні (натяжні) зірочки, що відгороджують їх від прорізу кабіни.

Дозволяється на цих щитах робити прорізи шириною не більше ніж 150 мм для проходження через них елементів, за допомогою яких кабіна з'єднується з ланцюгом.

Зазор між щитами і порогом кабіни повинен бути не більше ніж 20 мм.

Знизу від щита, розміщеного у верхній частині шахти з боку підіймання кабіни, повинен бути обладнаний скіс під кутом не менше 60° до горизонталі і шириною, що дорівнює ширині вхідного прорізу шахти. Цей скіс дозволяється не доводити до стіни шахти на 50 мм і менше.

11.2.13. Дія кабіни на щити, зазначені в пункті 11.2.12 цих Правил, перпендикулярно до їх поверхні навантаженням 200 Н і більше повинна контролюватись вимикачами.

Навантаження повинне прикладатись до нижньої кромки щита, розміщеного в верхній частині шахти з боку підіймання кабіни, і до верхньої кромки щита, розміщеного в нижній частині шахти з боку опускання кабіни.

11.2.14. На рівні верху і низу вхідного прорізу шахти на всю його ширину повинні бути обладнані горизонтальні площадки, які прилягають до стіни шахти і виступають в шахту.

Розмір площадки в напрямі, перпендикулярному до стіни, де розміщені вхідні прорізи, повинен бути не менше ніж 230 мм.

Відстань між цими площадками і порогом кабіни повинна бути не менше ніж 10 мм і не більше ніж 20 мм.

11.2.15. Площадки, зазначені в пункті 11.2.14 цих Правил, розміщені в тій частині шахти, в якій кабіна рухається вверх, повинні мати можливість від зусилля 100 Н і більше повертатись вверх на кут не менше ніж 75° і не більше ніж 90°. Зусилля повинне бути прикладене до краю площадки з боку кабіни перпендикулярно до площини площадки. У разі припинення силової дії на площадку вона повинна самостійно повертатись у початкове положення. Відстань в світлі між площадками в піднятому положенні і порогом кабіни повинна бути не більше 250 мм.

Підйом площадок повинен контролюватись вимикачами.

11.2.16. На всій висоті шахти, перпендикулярно і примикаючи до стіни, на якій розміщені вхідні прорізи, повинна бути установлена суцільна гладенька вертикальна огорожа.

Огорожа повинна бути розміщена з обох сторін площадок і впритул до них.

Зазор між огорожею і стінками кабіни на всьому шляху її руху повинен бути не менше ніж 10 мм і не більше ніж 20 мм.

У верхній і нижній частинах шахти огорожа повинна бути доведена до щитів. За наявності на щиті скосу огорожа повинна бути доведена до вертикальної частини щита.

11.2.17. З обох сторін кожного вхідного прорізу шахти на огорожі, вказаній у пункті 11.2.16 цих Правил, повинні бути влаштовані гладенькі поручні такої форми, щоб за них неможливо було зачепитись одягом. Довжина поручня повинна бути не менше ніж 275 мм. Поручні повинні бути розміщені на висоті 1100 мм ± 20 мм від рівня підлоги посадочної (завантажувальної) площадки до середини поручня.

Поручень повинен витримувати горизонтальне навантаження не менше ніж 300 Н.

11.2.18. Всі вхідні прорізи повинні бути обладнані пристроєм, який перекриває вхід до кабіни недіючого підйомника. Для цієї мети дозволяється використовувати знімні ланцюги, шнури тощо.

11.2.19. Відстані між кабіною і елементами шахти або устаткованням, розміщеним в шахті, повинні відповідати значенням таблиці 7.

Таблиця 7

Назва відстані 

Значення, мм 

Не менше ніж 

Не більше ніж 

Від виступаючих елементів кабіни до виступаючих елементів огорожі шахти і до поверхні огорожі з боку, до якого не звернений вхідний проріз кабіни 

25 

Від зовнішньої поверхні стінок кабіни до найближчої внутрішньої поверхні огорожі шахти 

350 

Між виступаючими деталями кабіни і деталями кріплення напрямних кабіни (стикові планки, притискачі, болти тощо) 

10 

Між виступаючими деталями кабіни і конструкціями, призначеними для установки напрямних кабін (кронштейни, балки тощо) 

20 


 

11.2.20. Встановлення устатковання і прокладення в шахті комунікацій, які не належать до підйомника, забороняється.

11.2.21. Шахта повинна мати освітлення, яке відповідає вимогам пунктів 11.6.23 - 11.6.25 цих Правил.

11.2.22. Лебідка з приводними зірочками, НКП, трансформатори, ввідний пристрій тощо повинні розміщуватись у спеціальному приміщенні (машинному приміщенні). Розміщення ввідного пристрою повинне відповідати вимогам пункту 6.5.1 цих Правил.

11.2.23. Натяжні пристрої тягових ланцюгів повинні розміщуватись у спеціальному приміщенні (приміщення натяжних пристроїв).

11.2.24. Машинне приміщення (приміщення натяжних пристроїв) повинне мати суцільну огорожу з усіх боків і на всю висоту, а також мати верхнє перекриття і підлогу.

У разі розміщення над шахтою машинного приміщення (приміщення натяжних пристроїв) не потрібно обладнувати підлогу на дільниці, розміщеній безпосередньо над шахтою.

11.2.25. Машинне приміщення і розміщене в ньому устатковання повинні відповідати вимогам пунктів 6.5.8, 6.5.10, 6.5.12, 6.5.14, 6.5.15, 6.5.17, 6.5.22, 6.5.24 цих Правил.

11.2.26. У машинному приміщенні повинні бути забезпечені проходи для обслуговування лебідки з усіх боків з шириною проходу не менше 500 мм.

11.2.27. Приміщення натяжних пристроїв повинне відповідати вимогам пунктів 6.5.10, 6.5.12, 6.5.14, 6.5.17, 6.5.23 цих Правил.

11.2.28. У приміщенні натяжних пристроїв, розміщених над шахтою, а також у машинному приміщенні зона, в якій переміщуються кабіни, повинна мати стаціонарну або знімну огорожу висотою не менше ніж 1800 мм.

11.2.29. Двері машинного приміщення і приміщення натяжних пристроїв повинні відповідати вимогам пункту 6.5.4 цих Правил.

Розміри полотна дверей повинні бути не менше ніж 800 х 1800 мм (ширина х висота).

Вхід в ці приміщення через люк не дозволяється.

11.2.30. У підлозі і верхньому перекритті машинного приміщення і приміщення натяжних пристроїв дозволяється робити люк для виконання ремонтних робіт.

Люк повинен відповідати вимогам пункту 6.5.7 цих Правил.

11.2.31. Підходи до машинного приміщення і приміщення натяжних пристроїв повинні відповідати вимогам пункту 6.5.17 цих Правил.

11.3. Напрямні

11.3.1. Рух кабіни повинен здійснюватись по жорстких напрямних, прямолінійна частина яких повинна бути вертикальною.

11.3.2. Після проходження кабіною тієї дільниці шахти, на якій вона змінює напрям руху, башмаки кабіни або пристрої, які їх замінюють, повинні входити в свої напрямні.

11.3.3. Положення кабіни відносно напрямних на дільниці шахти, де кабіна змінює напрям руху, контролюється вимикачем.

11.3.4. На місці стику кінців суміжних відрізків напрямних повинне унеможливлюватись їх взаємне зміщення.

11.3.5. Тягові ланцюги, на яких підвішені кабіни, переміщуються в жорстких напрямних. Ці напрямні влаштовуються так, щоб у разі розриву ланцюга він не міг вийти з напрямних, створюючи жорстку опору для підвішених на ній кабін.

11.3.6. Зазор між напрямними для тягових ланцюгів і зубцями зірочок (вверху і внизу) повинен бути не більше ніж 100 мм.

11.3.7. Напрямні для тягових ланцюгів та їх кріплення розраховані на навантаження, які виникають у випадку обривання ланцюгів під час завантаження кожної з кабін вантажем масою 80 або 160 кг, залежно від площі підлоги кабіни відповідно до вимог пункту 11.4.7 цих Правил.

11.4. Кабіна

11.4.1. Кабіна підйомника повинна бути розрахована на ті навантаження, які виникають у робочому режимі підйомника, під час його випробовування відповідно до вимог пункту 11.7.2 цих Правил, а також у разі обриву тягових ланцюгів (ланцюга).

11.4.2. Кабіна підйомника з задньої і бокових сторін повинна мати суцільну огорожу на всю висоту, а також верхнє перекриття і підлогу.

У нижній частині огорожі кабіни дозволяється влаштовувати люк, який замикається, висотою не більше ніж 500 мм для обслуговування устатковання, розміщеного в шахті. Кришка люка відчиняється всередину кабіни.

Відмикання кабіни здійснюється зсередини кабіни спеціальним ключем.

Кабіна не повинна мати дверей.

11.4.3. У разі прикладання до огорожі кабіни, крім огорожі з сітки, в будь-якому місці перпендикулярно до її поверхні навантаження 300 Н прогин не повинен бути більше ніж 15 мм, залишкова деформація - недопустима. Навантаження повинне бути рівномірно розподілене на площі 5 см2 круглої або квадратної форми і прикладене зсередини кабіни.

У разі прикладення зсередини кабіни в будь-якій точці сітки огорожі перпендикулярно до площини сітки навантаження 150 Н прогин сітки не повинен бути більше ніж 25 мм.

11.4.4. Верхнє перекриття кабіни повинне витримувати навантаження не менше 1000 Н, прикладене на площі 300 х 250 мм у будь-якому місці.

11.4.5. Для виключення можливості проникнення пасажира на дах кабіни верхнє перекриття з передньої сторони повинне мати виріз на всю ширину кабіни. Глибина вирізу повинна бути не менше ніж 250 мм.

11.4.6. Висота кабіни повинна бути не менше ніж 2000 мм від рівня її підлоги до даху.

11.4.7. Розміри підлоги кабіни повинні бути:

800 ± 20 х 800 ± 20 мм - для одного пасажира;

1000 ± 20 х 1000 ± 20 - для двох пасажирів.

11.4.8. Висота вхідного прорізу кабіни повинна дорівнювати висоті кабіни. Ширина вхідного прорізу кабіни повинна дорівнювати ширині підлоги кабіни.

11.4.9. Передня частина підлоги кабіни на всю ширину повинна бути виконана у вигляді відкидної площадки, яка має можливість від зусилля 100 Н і більше повертатись вверх на кут не менше ніж 900. Зусилля повинне бути прикладене до краю площадки з боку вхідного прорізу шахти перпендикулярно до площини площадки.

У разі припинення силової дії на площадку вона повинна самостійно повертатись у початкове положення.

Підіймання відкидної площадки кабіни, яка рухається вниз, в зоні посадочних площадок повинне контролюватись вимикачем.

11.4.10. Проміжок між суміжними кабінами повинен бути закритий рухомими щитами (фартухами), розміщеними над і під кабіною.

Щит, розміщений під кабіною, повинен бути встановлений вертикально і взаємодіяти з відкидною площадкою підлоги кабіни. Під час повертання площадки підлоги щит повинен переміщуватись паралельно собі, віддаляючись від передньої стіни шахти. Відстань від щита в піднятому положенні до площадок, передбачених пунктом 11.2.14 цих Правил, які перебувають у горизонтальному положенні, повинна бути не менше ніж 200 мм.

Зазор між щитом, розміщеним під кабіною і огорожею на всьому шляху руху кабіни, повинен бути не більше ніж 20 мм і не менше ніж 15 мм.

11.4.11. Кабіна повинна бути обладнана башмаками або пристроями, які їх замінюють, які не повинні виходити з напрямних, крім тієї дільниці шахти, де кабіна змінює напрям руху.

11.4.12. Кабіна повинна бути підвішена на двох ланцюгах згідно з вимогами пункту 11.5.6 цих Правил.

11.4.13. Всередині кабіни на бокових стінках повинні бути обладнані поручні, які відповідають вимогам пункту 11.2.17 цих Правил.

Відстань по горизонталі між поручнями в кабіні і поручнями, розміщеними на огорожі вхідного прорізу шахти, повинна бути не менше 300 мм.

11.5. Лебідка, зірочки, ланцюги

11.5.1. Лебідка підйомника, зірочки, ланцюги повинні бути розраховані на навантаження, які виникають у робочому режимі підйомника, а також під час повного технічного огляду відповідно до вимог пункту 11.7.2 цих Правил.

11.5.2. Лебідка повинна бути обладнана пристроєм для переміщення кабіни вручну. Штурвал, який використовується в пристрої, може установлюватись на валу постійно або бути знімним. Застосування штурвала зі спицями або кривошипної рукоятки не дозволяється.

На лебідці повинен бути указаний напрям обертання штурвала (або пристрою, що його замінює), що відповідає напряму руху кабіни.

11.5.3. Лебідка повинна бути обладнана автоматично діючим гальмом нормальнозамкнутого типу.

Гальмо лебідки повинне зупиняти маси, які рухаються, а також утримувати кабіну під час проведення випробовувань.

Гальмовий момент повинен створюватись за допомогою пружини (пружин) стискання або вантажу.

Застосування стрічкового гальма не дозволяється. Як гальмовий шків дозволяється використовувати напівмуфту з'єднання електродвигуна з редуктором, яка розташована на валу редуктора.

11.5.4. Редуктор лебідки повинен мати таку конструкцію, яка б дозволяла легко перевірити рівень мастила в ньому.

11.5.5. Під нижніми зірочками ланцюгів повинен бути обладнаний кожух для утримання ланцюга у разі його розірвання.

11.5.6. Кабіна повинна бути підвішеною на тягових пластинчатих ланцюгах роликового типу.

Ланцюги повинні бути розраховані з коефіцієнтом запасу міцності не менше 10 за руйнівним навантаженням. Навантаження, яке діє на ланцюги, повинне визначатись, виходячи з умов завантаження кожної кабіни вантажем масою 80 або 160 кг, залежно від площі підлоги кабіни, повинне відповідати розмірам, що встановлені у пункті 11.4.7 цих Правил.

11.6. Електрична частина

11.6.1. Технічна характеристика електричного устаткування, електромережі та їх виконання повинні відповідати параметрам підйомника за напругою і частотою мережі живлення, струмовим навантаженням, надійності, а також умовам його експлуатації, зберігання, транспортування.

11.6.2. Напруга від джерела живлення повинна подаватись через ввідний пристрій з ручним приводом.

Ввідний пристрій повинен бути розміщений безпосередньо близько від входу в машинне приміщення і установлений окремо від НКП. Приводна рукоятка ввідного пристрою повинна бути розміщена на висоті 1200 - 1600 мм від рівня підлоги.

Ввідний пристрій повинен бути розрахований на зняття напруги з підйомника під навантаженням і без навантаження.

Ввідний пристрій повинен вимикати всі фази живлення і повністю знімати напругу з електричних ланцюгів, крім ланцюгів освітлення шахти, кабіни, машинного приміщення і приміщення натяжних пристроїв, для вимикання яких повинні бути передбачені окремі вимикачі згідно з вимогами пунктів 11.6.25 і 11.6.26 цих Правил.

11.6.3. Електропривод підйомника повинен відповідати таким вимогам:

- зняття механічного гальма здійснюється одночасно з вмиканням електродвигуна або після його вмикання;

- вимикання електродвигуна супроводжується накладенням механічного гальма;

- замикання струмопровідних пластин електричного пристрою приводу гальма (гальмового електромагніту тощо) на корпус не викликає мимовільне вмикання цього приводу, і зняття механічного гальма у разі зупиненого підйомника не порушує накладення механічного гальма після вимкнення електродвигуна;

- обертання електродвигуна здійснюється тільки в одному напрямі.

11.6.4. Система керування підйомником повинна забезпечувати можливість пуску підйомника:

- з машинного приміщення;

- з однієї із посадочних (завантажувальних) площадок підйомника.

Апарат для подачі команди керування на пуск повинен бути недоступним для сторонніх осіб, і місце його установки повинне мати телефонний зв'язок з машинним приміщенням.

11.6.5. У машинному приміщенні і біля всіх вхідних прорізів повинні бути установлені кнопки "Стоп" для зупинки підйомника.

11.6.6. Система керування підйомником повинна відповідати таким вимогам:

- після припинення електропостачання підйомника і наступного його відновлення, а також після зупинки кабіни і усунення причини, яка викликала зупинку, пуск підйомника відбувається тільки після нової команди керування;

- електричні контакти апаратів, призначені безпосередньо для вимикання електродвигуна і забезпечення накладення механічного гальма, а також електричні контакти вимикачів безпеки повинні працювати на розмикання електричного ланцюга;

- електромагнітні або ємнісні перешкоди, які виникають під час роботи підйомника або надходять зовні, не повинні викликати помилкових спрацювань в ланцюгах вимикачів безпеки.

11.6.7. Вимикання електродвигуна, накладення механічного гальма і зупинка підйомника повинні відбуватись у разі:

- теплового перевантаження електродвигуна;

- короткого замикання в силових ланцюгах і ланцюгах керування;

- спрацювання вимикачів безпеки.

11.6.8. Безпечна робота підйомників забезпечується такими вимикачами безпеки:

- зміни напряму обертання лебідки (пункт 11.1.6 цих Правил);

- положення кабіни (пункт 11.3.3 цих Правил);

- щита огорожі (пункт 11.2.12 цих Правил);

- обертової площадки вхідного прорізу (пункт 11.2.15 цих Правил);

- відкидної площадки кабіни (пункт 11.4.9 цих Правил);

- кнопка "Стоп" (пункт 11.6.5 цих Правил);

- приміщення натяжних пристроїв (пункт 11.6.17 цих Правил).

11.6.9. Вимикачі зміни напряму обертання лебідки і положення кабіни повинні бути під'єднані до ланцюга силового струму електродвигуна, а інші вимикачі безпеки можуть бути під'єднані як до ланцюга керування, так і до ланцюга силового струму.

11.6.10. Вимикачі зміни напряму обертання лебідки і положення кабіни повинні бути не самозворотними, а вимикачі щита огорожі, поворотних площадок вхідних прорізів і відкидної площадки кабіни - самозворотними.

11.6.11. Не дозволяється під'єднання будь-яких електромеханічних пристроїв паралельно до електричних контактів вимикачів безпеки або їх шунтування іншим шляхом.

11.6.12. Вимикач зміни напряму обертання лебідки повинен розмикати електричний ланцюг у разі зміни напряму обертання лебідки.

11.6.13. Вимикач положення кабіни повинен розмикати електричний ланцюг у разі виходу башмаків або пристроїв, які їх замінюють, із площини напрямних на дільниці шахти, де кабіна змінює напрям руху.

11.6.14. Вимикач щита огорожі повинен розмикати електричний ланцюг під час дії зсередини кабіни на щити зверху і знизу шахти, де відбувається зміна напряму руху кабіни.

11.6.15. Вимикачі поворотних площадок вхідного прорізу повинні розмикати електричний ланцюг під час підіймання площадок, розміщених на рівні верху і низу вхідного прорізу.

11.6.16. Вимикач відкидної площадки кабіни повинен розмикати електричний ланцюг під час підіймання відкидної площадки кабіни.

11.6.17. У приміщенні натяжних пристроїв повинен бути установлений вимикач ручної дії для розмикання ланцюга керування.

11.6.18. Машинне приміщення, приміщення натяжних пристроїв, шахта, площадки перед входом у підйомник повинні бути обладнані стаціонарним електричним освітленням.

11.6.19. Кожна кабіна повинна бути освітлена від світильника, установленого в кабіні, або від світильника, розміщеного зовні кабіни.

Світильники повинні забезпечувати:

- освітленість кожної кабіни на всьому шляху її руху;

- обгородження джерел світла від зіткнення з ними пасажирів.

11.6.20. Живлення електричного освітлення, крім освітлення кабін, повинне бути від освітлювальної мережі будинку (споруди).

11.6.21. Освітленість повинна бути не меншою:

- 20 лк - від ламп нажарювання на рівні підлоги кабіни;

- 30 лк - від ламп нажарювання і 75 лк - від люмінесцентних ламп на рівні підлоги площадок перед входами в підйомник, а також на рівні підлоги машинного приміщення і приміщення натяжних пристроїв;

- 30 лк - від ламп нажарювання і 50 лк - від люмінесцентних ламп на рівні підлоги в проходах і коридорах, які ведуть до площадок перед входом в підйомник, до машинного приміщення і приміщення натяжних пристроїв;

- 5 лк - від ламп нажарювання в шахті підйомника.

11.6.22. Освітлення кабіни повинне бути ввімкнене так, щоб воно не переривалось у разі вимикання апаратів захисту силового ланцюга і ланцюга керування.

11.6.23. Освітлення шахти повинне бути ввімкнене під час проведення в ній робіт і оглядів. Для освітлення шахти повинні використовуватись лампи нажарювання.

10.6.24. Для вмикання (вимикання) освітлення кабін, машинного приміщення і шахти в машинному приміщенні повинні бути установлені вимикачі.

11.6.25. Для вмикання (вимикання) освітлення приміщення натяжних пристроїв в ньому повинен бути установлений вимикач.

11.6.26. У машинному приміщенні, у верхній і нижній частинах шахти повинно бути установлено не менше однієї штепсельної розетки для переносних ламп напругою не більше 42 В.

11.6.27. Параметри електромагнітних полів повинні відповідати ДСН 3.3.6.096-2002.

11.7. Технічний огляд

11.7.1. На проведення технічного огляду поширюються вимоги розділів 9.2 та 11.7 цих Правил.

11.7.2. Повний технічний огляд

Повний технічний огляд підйомника проводиться один раз на 4 роки.

Під час повного технічного огляду підйомник підлягає огляду в обсязі, зазначеному в пункті 9.3.2 цих Правил, а випробовування в обсязі, зазначеному в цьому пункті.

Під час випробовування слід перевірити роботу підйомника, дію гальма, міцність механізмів, кабін, тягових ланцюгів, підвісок кабін тощо.

Випробовування повинне проводитись у три етапи.

На першому етапі з незавантаженими кабінами повинна бути перевірена робота лебідки, пристроїв безпеки, систем керування, сигналізації та освітлення.

На другому і третьому етапах з завантаженими кабінами повинні бути перевірені робота підйомника, дія гальма, міцність кабін, тягових ланцюгів і підвісок кабін тощо.

На другому етапі половина всіх кабін повинна бути завантажена вантажем масою 80 кг кожна (за номінальних розмірів кабіни 800 х 800 мм) або масою 160 кг (за номінальних розмірів кабіни 1000 х 1000 мм), після чого підйомник повинен бути перевірений на ходу в обсязі двох повних обертів ланцюга. Кабіни можуть бути завантажені як ті, що рухаються вверх, так і ті, що рухаються вниз. Усі завантажені кабіни повинні бути суміжними.

На третьому етапі кожна з кабін повинна бути завантажена вантажем масою 120 кг (за номінальних розмірів підлоги кабіни 800 мм х 800 мм) або 240 кг (за номінальних розмірів підлоги кабіни 1000 мм х 1000 мм), після чого підйомник повинен бути перевірений на ходу протягом двох повних обертів ланцюга.

11.7.3. Періодичний технічний огляд

Періодичний технічний огляд підйомника проводиться один раз в 24 місяці.

Під час проведення періодичного технічного огляду підйомник повинен підлягати огляду, перевіркам в обсязі вимог пункту 9.3.2 цих Правил.

Випробування підйомника проводиться з завантажними кабінами. При цьому повинні бути виконані перевірки, зазначені в пункті 9.3.3 цих Правил, а також перевірка дії уловлювачів від обмежувача швидкості.

11.8. Експлуатація і обслуговування

11.8.1. Експлуатація і технічне обслуговування підйомників здійснюється згідно з розділом 9.7 цих Правил та цим розділом.

11.8.2. На основному поверсі і всередині кожної кабіни повинні бути вивішені правила користування підйомником такого змісту:

- дозволяється проїзд тільки одного пасажира або проїзд не більше двох пасажирів;

- підіймання і опускання вантажу не дозволяється;

- проїзд в кабіні вище верхнього поверху або нижче нижнього поверху безпечний.

11.8.3. На кожному поверсі вказується його номер, який добре видно з кабіни підйомника.

11.8.4. На основному поверсі повинна бути вивішена табличка з зазначенням реєстраційного номера і номера телефону для зв'язку з обслуговуючим персоналом або аварійною службою.

XII. ПОРЯДОК РОЗСЛІДУВАННЯ АВАРІЙ ТА НЕЩАСНИХ ВИПАДКІВ

 

Розслідування аварій та нещасних випадків, що сталися з працівниками та мали місце під час монтажу, демонтажу, експлуатації, ремонту, налагодження чи обслуговування ліфтів і підйомників, здійснюється відповідно до вимог Порядку розслідування та ведення обліку нещасних випадків, професійних захворювань і аварій на виробництві, затвердженого постановою Кабінету Міністрів України від 25.08.2004 N 1112.

 

Начальник Управління
організації державного нагляду
в металургії, енергетиці,
будівництві та котлонагляду
Держгірпромнагляду
 


 
 
 
В. І. Іванченко
 

ПОГОДЖЕНО: 

  

Заступник Голови Федерації
профспілок України
 


С. Я. Українець
 


 

 

Додаток 1
до Правил будови і безпечної експлуатації ліфтів 


 

Норми бракування сталевих канатів

 

1. Бракування сталевих канатів, які перебувають в роботі, здійснюється за кількістю обривів дротин на довжині кроку сукання згідно з даними таблиці 1.

Таблиця 1

Норми бракування каната залежно від кількості обривів дротин на довжині одного кроку сукання каната

Вихідний коефіцієнт запасу міцності каната у співвідношенні D: d 

Норма бракування (кількість обривів дротин) на довжині одного кроку сукання каната у залежності від конструкції каната та типу його сукання 

6 х 19 = 114 і одне органічне осердя та сукання 

6 х 37 = 222 і одне органічне осердя та сукання 

  

хрестинне 

однобічне 

хрестинне 

однобічне 

До 9 включ. 

14 

23 

12 

Більше 9 до 10 включ. 

16 

26 

13 

Більше 10 до 12 включ. 

18 

29 

14 

Більше 12 до 14 включ. 

20 

10 

32 

16 

Більше 14 до 16 включ. 

22 

11 

35 

18 

Більше 16 

24 

12 

38 

19 


 

2. Приклад визначення кроку сукання каната

На поверхні будь-якої сталки наносять мітку, від якої відлічують вздовж центральної осі каната стільки сталок, скільки їх є у перерізі каната (наприклад, шість у шестисталковому канаті), і на наступній після відліку сталці (у даному випадку на сьомій) наносять другу мітку.

Відстань між мітками приймають за крок сукання каната.

3. Бракування каната, виготовленого з дротин різного діаметра, конструкції 6 х 19 = 114 дротин з одним органічним осердям виконуються відповідно з даними, наведеними в першій графі таблиці 1. Кількість обривів як норма бракування приймається за умовну. Під час підрахунку обрив тонкої дротини приймається за 1,0, а обрив товстої дротини - за 1,7.

Приклад:

Якщо на довжині одного кроку сукання каната з початковим коефіцієнтом запасу міцності до 9 є 7 обривів тонких дротин і 5 обривів товстих дротин, то 7 х 1 + 5 х 1,7 = 15,5, тобто понад 14 (таблиця 1) і, отже, канат підлягає бракуванню.

4. Кількість дротин на одному кроці сукання як ознаку бракування каната, конструкція якого не вказана в таблиці 1, визначають за даними цієї таблиці для каната, найближчого за кількістю сталок і кількістю дротин у перерізі.

Приклад:

Для каната конструкції 8 х 19 = 152 дротин з одним органічним осердям найближчим є канат 6 х 19 = 114 дротин з одним органічним осердям.

Для визначення ознаки бракування слід дані таблиці 1 (кількість обривів на одному кроці сукання) для каната 6 х 19 = 114 дротин з одним органічним осердям помножити на коефіцієнт 96 : 72, де 96 і 72 - кількість дротин у зовнішніх шарах сталок одного і другого канатів.

5. У разі наявності у канатів поверхневого зношення або корозії дротин кількість обривів дротин на кроці сукання як ознака бракування повинна бути зменшена відповідно до даних таблиці 2.

Таблиця 2

Норми бракування каната залежно від поверхневого зношення або корозії

Поверхневе зношення або корозія дротин на діаметрі, % 

Кількість обривів дротин на кроці сукання, % від норм, указаних у таблиці 1 

10 

85 

15 

75 

20 

70 

25 

60 

30 і більше 

50 


 

У разі зношення або корозії до 40 % і більше початкового діаметра дротин канат повинен бути забракований.

Визначення зношення або корозії дротин за діаметром каната здійснюється мікрометром або іншим інструментом; у разі відсутності обірваних дротин вимірювання зношення або корозії не проводиться.

6. Якщо кабіна (противага) ліфта підвішена на двох окремих канатах, кожний з них бракується окремо, у разі цього дозволяється заміна одного більш зношеного каната.

7. Якщо кабіна (противага) ліфта підвішена на трьох і більше канатах, їх бракування здійснюється за середнім арифметичним значенням, визначеним за найбільшою кількістю обривів дротин на довжині одного кроку сукання кожного каната. Дозволяється у одного з канатів збільшена кількість обривів дротин, але не більше ніж на 50 % проти норм, указаних у таблиці 1.

8. У разі наявності обривів, кількість яких не досягає бракувального показника, встановленого цими нормами, а також у разі наявності поверхневого зношення дротин канат допускається до роботи за умови:

- ретельного нагляду за його станом під час періодичних оглядів з записом результатів у журнал технічного обслуговування;

- заміни каната після досягнення ступеня зношення, вказаного в цих нормах.

9. У разі виявлення в канаті обірваної сталки або осердя канат підлягає заміні.

 

Начальник Управління
організації державного нагляду
в металургії, енергетиці,
будівництві та котлонагляду
Держгірпромнагляду
 


 
 
 
В. І. Іванченко
 


 

 

Додаток 2
до Правил будови і безпечної експлуатації ліфтів 


 

Огородження шахти ліфта

 

  

C- кабіна;

H - висота закритої частини;

D - відстань до рухомих частин ліфта (див мал. 2).

Малюнок 1- Частково закрита шахта

  

Малюнок 2 - Частково закрита шахта. Відстані

 

Додаток 3
до Правил будови і безпечної експлуатації ліфтів 


 

Зразок

Керівнику 

______________________
______________________
(територіальний орган
Держгірпромнагляду)
 


 

Заява
на реєстрацію (перереєстрацію) ліфта (ліфтів)

 

 

Прошу зареєструвати новоустановлений ліфт (ліфти) ____________________________________________________________________________________
                                                                        (місцезнаходження об'єкта встановлення ліфта(ів)) 
___________________________________________________________________________________ 

Заявник:
    1) повна назва суб'єкта господарювання _______________________________________________
    2) ідентифікаційний код суб'єкта господарювання _______________________________________
    3) зареєстрований вид діяльності згідно з КВЕД _________________________________________
    4) місцезнаходження суб'єкта господарювання __________________________________________
    5) дозвіл на експлуатацію ліфта (ліфтів) _________________________________________________
                                                                                                                             (ким виданий, дата та номер) 

Додатки:
      1) заповнений паспорт на ліфт (додаток 4 до цих Правил);
      2) акт технічної готовності ліфта (ГСТУ 36.1-001-97);
      3) акт готовності будівельної частини (додаток 6 до цих Правил);
      4) протокол перевірки ланцюга між нульовим проводом вводу і зануленими
      елементамиелектроустатковання (ГСТУ 36.1-001-97);
      5) протокол перевірки опору заземлювача (ГСТУ 36.1-001-97);
      6) протокол перевірки стану ізоляції електроустатковання і електричних мереж ліфта
      (ГСТУ 36.1-001-97);
      7) протокол виміру повного опору петлі "фаза-нуль" (ГСТУ 36.1-001-97) 

Керівник (суб'єкт господарювання) __________       ________________________
                                                                                       (підпис)                                           (П. І. Б.) 

Дата подання заяви ___________ 200 р. 


 

 

Начальник Управління
організації державного нагляду
в металургії, енергетиці,
будівництві та котлонагляду
Держгірпромнагляду
 


 
 
 
В. І. Іванченко
 


 

 

Додаток 4
до Правил будови і безпечної експлуатації ліфтів 


 

ПАСПОРТ ЛІФТА*
(типовий)

 

 

 

Назва постачальника,
місцезнаходження 

  


 

   1. Загальні відомості

Назва 

Відомість 

Підприємство-виробник 

  

Тип і модель ліфта 

  

Заводський номер 

  

Рік виготовлення 

  

Привод (електричний, гідравлічний, пневматичний) 

  

Допустима температура у машинному приміщенні, шахті (°C) (мінімальна і максимальна) 

  

Навколишнє середовище, у якому може експлуатуватись ліфт (відносна вологість, насиченість пилом, агресивне, вибухонебезпечне, пожежонебезпечне) 

  

Установлений термін експлуатації 

  


 

   ____________
   * Тверда обкладинка розмірами 218 х 290 мм (А4).

   1.1. Основні нормативні документи, відповідно до яких виготовлено ліфт* 

Позначення 

Назва 

  

  

  

  

  

  

  

  

  

  

  

  

  

  

  

  

  

  

  

  

  

  

  

  


 

   ____________
   * Заповнюється виробником.


   2. Основні технічні дані ліфта та його складових частин

   2.1. Основні параметри і характеристики ліфта 

Назва показника, одиниця виміру 

Значення 

Вантажопідйомність, кг 

  

Кількість пасажирів 

  

Номінальна швидкість руху кабіни, м/с 

  

Номінальна швидкість руху кабіни в режимі "Ревізія", м/с 

  

Вид керування 

  

Кількість зупинок 

  

Кількість дверей шахти 

  

Висота підіймання, м 

  

Конструкція шахти** 

  

Конструкція кронштейнів кріплення напрямних кабіни** 

  

Конструкція кронштейнів кріплення напрямних противаги** 

  


 

   ____________
   ** Заповнюється монтажною організацією.

   2.2. Електричні ланцюги ліфта 

Назва 

Вид струму 

Номінальна напруга, В, та допустиме відхилення, % 

Частота, Гц 

Ввідний пристрій  

  

  

  

Силовий ланцюг (приводи лебідки і дверей):
у нормальному режимі у разі запуску двигуна 

  

  

  

Ланцюг керування 

  

  

  

Ланцюг освітлення:
       кабіни
       шахти
       ремонтних робіт 

  

  

  

Ланцюг сигналізації 

  

  

  


 

   2.3. Основні технічні відомості і характеристика лебідки

Загальні відомості та основні показники, одиниця виміру 

Значення (діапазон) 

Тип (редукторна, безредукторна, з канатотяговим шківом, барабанна, з зірочкою) 

  

Заводський номер 

  

Рік виготовлення 

  

Номінальний обертальний момент на вихідному валу, Нм 

  

Діаметр канатотягового шківа, барабана, зірочки, мм 

  

Маса, кг 

  

  

  


 

   2.3.1. Редуктор

Загальні відомості та основні показники, одиниця виміру 

Значення
(діапазон) 

Тип 

  

Заводський номер 

  

Рік виготовлення 

  

Передаточне число 

  

Міжосьова відстань передачі, мм 

  

Маса, кг 

  

  

  


 

   2.3.2. Гальмо

Загальні відомості та основні показники, одиниця виміру 

Значення
(діапазон) 

Тип (колодковий, дисковий, конусоподібний тощо) 

  

Діаметр гальмового шківа, мм 

  

Привод гальма: тип 
       зусилля, кН 
       хід виконавчого органу, мм 

  

  

  

  

  


 

    2.4. Основні технічні дані і характеристика електродвигунів 

Загальні відомості та основні показники, одиниця виміру 

Значення (діапазон) 

Призначення 

Лебідка 

Привод дверей 

Тип 

  

  

Вид струму 

  

  

Номінальна напруга, В 

  

  

Номінальний струм, А 

  

  

Номінальна частота, Гц 

  

  

Номінальна потужність, кВт 

  

  

Граничнодопустима температура нагрівання обмоток двигуна, °C
Клас ізоляції 

  

  

Синхронна частота обертання, об/хв. 

  

  

Тривалість включення (ТВ), % 

  

  

Кількість включень на годину 

  

  

Виконання (нормальне, вологозахисне, пиловодозахисне, морське тощо), ступінь захисту 

  

  

  

  

  


 

   2.5. Основні технічні дані і характеристика гідроприводу
(для гідравлічного ліфта)
Тип _________________________________________________________________________

   2.5.1. Гідроциліндр

Загальні відомості та основні показники, одиниця виміру 

Значення (діапазон) 

Тип 

  

Кількість 

  

Заводський номер 

  

Рік виготовлення 

  

Діаметр, мм:
                  плунжера
                  поршня 
                  штока 

  

Хід, мм 

  

Робочий тиск, МПа:
                               найменший
                               найбільший 

  

Випробувальний тиск, МПа 

  

Швидкість, м/с:
                    під час підіймання, не менше
                    під час опускання, не більше 

  

Маса, кг 

  


 

   2.5.2. Гідроагрегат

Загальні відомості та основні показники, одиниця виміру 

Значення (діапазон) 

Тип 

  

Підприємство-виробник 

  

Заводський номер 

  

Рік виготовлення 

  

Потік робочої рідини найбільший, дм3/хв 

  

Робоча рідина 

  

Об'єм заправлення, дм3 

  

Тиск налагоджування запобіжного клапана, МПа 

  

Випробувальний тиск, МПа 

  

Маса, кг 

  

Сертифікат 

  


 

   2.5.3. Трубопроводи
  Рукава високого тиску (тип) 
______________________________________________________________________________
______________________________________________________________________________

   2.6. Двері шахти 

Конструкція та розміри, одиниця виміру 

Значення (діапазон) 

Конструкція (обертально-розкривні, розсувні, комбіновані одно-, дво- або багатостулкові) 

  

Розміри дверного прорізу (ширина х висоту), мм 

  

Спосіб відчинення або зачинення (ручний, напівавтоматичний, автоматичний) 

  

Привод (електричний, гідравлічний, пневматичний, пружинний тощо) 

  

Спосіб відмикання дверей шахти у разі зупинення кабіни на рівні поверхової площадки (відводка нерухома, рухома тощо) 

  

Спосіб відчинення дверей шахти у разі відсутності кабіни на рівні поверхової площадки 

  


 

   2.7. Кабіна 

Конструкція та розміри, одиниця виміру 

Значення (діапазон) 

Внутрішні розміри, мм
                                     ширина
                                     глибина
                                     висота 

  

Конструкція підлоги (рухома, нерухома) 

  

Конструкція дверей (обертально-розкривні, розсувні, одно-, дво- або багатостулкові) 

  

Спосіб відчинення або зачинення дверей (ручний, напівавтоматичний, автоматичний) 

  

Привод дверей (електричний, гідравлічний, пружинний тощо) 

  

Вид кабіни (прохідна, непрохідна) 

  

Маса, кг 

  


 

    2.8. Противага

Технічні дані, одиниця виміру 

Значення (діапазон) 

Кількість вантажів  

Указується в документації, що поставляється з ліфтом 

Маса, кг (у зібраному вигляді) 

  


 

    2.9. Канати

Технічні дані, одиниця виміру 

Значення (діапазон) для канатів 

кабіни 

противаги 

обмежувача швидкості 

зрівноважувальних 

Підприємство-виробник 

  

  

  

  

Сертифікат 

  

  

  

  

Тип* 

  

  

  

  

Конструкція* 

  

  

  

  

Умовне позначення * 

  

  

  

  

Діаметр, мм 

  

  

  

  

Кількість канатів 

  

  

  

  

Довжина одного каната, що включає необхідну довжину для кріплення, м 

  

  

  

  

Розривне зусилля каната в цілому, Н 

  

  

  

  

Коефіцієнт запасу міцності** 

  

  

  

  

  


 

   ____________
   * Заповнюється згідно з сертифікатом підприємства-виробника канатів.
   ** Заповнюється для тягових канатів і канатів обмежувача швидкості.

   2.10. Ланцюги

Технічні дані, одиниця виміру 

Значення (діапазон) для канатів 

кабіни 

противаги 

обмежувача швидкості 

зрівноважувальних 

Тип* 

  

  

  

  

Умовне позначення згідно з стандартом* 

  

  

  

  

Крок ланцюга* 

  

  

  

  

Кількість ланцюгів 

  

  

  

  

Довжина одного ланцюга, м 

  

  

  

  

Руйнівне навантаження ланцюга, Н* 

  

  

  

  

Коефіцієнт запасу міцності** 

  

  

  

  

  


 

   ____________
   * Заповнюється згідно з протоколом приймально-здавальних випробувань підприємства-виробника ланцюгів.
   ** Заповнюється для тягових ланцюгів і ланцюга обмежувача швидкості.

   2.11. Пристрої безпеки

   2.11.1. Механічні пристрої

Назва пристрою 

Технічні дані, одиниця виміру 

Призначення 

Кабіна  

Противага 

Уловлювачі 

Тип (різкого, плавного гальмування, комбіновані) 

  

  

Приводяться в дію (від обмежувача швидкості, від пристрою, який спрацьовує від слабини всіх тягових канатів) 

  

  

Умови випробовування уловлювачів плавного гальмування (швидкість руху кабіни, противаги, завантаження кабіни) 

  

  

Допустимий шлях гальмування уловлювачів плавного гальмування, мм:
               - максимальний
               - мінімальний 

  

  

Обмежувач швидкості 

Тип (центробіжний, маятниковий тощо) 

  

  

Швидкість руху кабіни (противаги), за якої спрацьовує обмежувач швидкості, м/с (максимальна, мінімальна) 

  

  

Зусилля на канаті обмежувача швидкості від натяжного пристрою, кН 

  

  

Буфери 

Тип (пружинний, гідравлічний тощо) 

  

  

Величина ходу, мм 

  

  

Кількість 

  

  

Швидкість випробовування гідравлічного буфера зі скороченим ходом, м/с 

  

  


 

   2.11.2. Перелік електричних пристроїв безпеки* 

Назва пристрою 

Наявність 

Контролювання закритого положення оглядових і аварійних дверей і оглядових люків
Пристрій зупинення у приямку
Контролювання замикання дверей шахти
Контролювання закритого положення дверей шахти
Контролювання закритого положення стулок без замка
Контролювання закритого положення дверей кабіни
Контролювання замикання аварійного люка і аварійних дверей кабіни
Пристрій зупинення на даху кабіни
Контролювання відносного подовження каната або ланцюга у разі двоканатних або дволанцюгових підвісок
Контролювання натягу компенсаційних канатів
Контролювання протиконтактного пристрою
Контролювання роботи уловлювачів
Виявлення перевищення швидкості
Контролювання спрацювання обмежувача швидкості
Контролювання натягу каната обмежувача швидкості
Контролювання засобів обмеження швидкості руху кабіни вверх
Контролювання повернення буферів у нормальне висунуте положення
Контролювання натягу в пристрої для передавання положення кабіни (кінцеві вимикачі)
Кінцеві вимикачі для ліфтів з тяговим приводом
Контролювання замикання дверей кабіни
Контролювання положення знімного штурвала
Контролювання натягу в пристрої для передавання положення кабіни (пристрій для перевіряння уповільнення)
Контролювання гальмування за укороченого ходу буфера
Контролювання ослаблення каната або ланцюга для ліфтів із жорстким приводом
Контролювання ввідного пристрою за допомогою контактора переривання ланцюга
Контролювання вирівнювання і повторного вирівнювання
Контролювання натягу в пристрої для передавання положення кабіни (вирівнювання і повторне вирівнювання)
Пристрій зупинення для режиму ревізії
Обмеження руху кабіни з операціями навантажування-розвантажування
Пристрій зупинення для операцій навантажування- розвантажування
Інші пристрої безпеки, які застосовані у ліфті 

  

____________
* Указується "Є" або "Немає" 


 

   3. Навантаження під час проведення повного технічного огляду

Назва (що випробовується, перевіряється) 

Величина навантаження 

  

  

  

  


 

 

   4. Відомості про придатність ліфта до експлуатації*

  Ліфт з заводським номером __________________, виготовлений відповідно до ______________________________________________________________________________________
                                                                                 (назва та номери документів)
і визнаний придатним до експлуатації.

   Дата випуску 

__________________________
(посада особи, яка підписує)

М. П. 

_____________
(підпис) 

____________________
(П. І. Б.) 

  

"___" ____________ 200 _ року 

   ____________
   * Заповнюється виробником.

   5. Гарантійні зобов'язання
___________________________________________________________________________ гарантує
                                                                              (назва підприємства-виробника)
відповідність ліфта вимогам конструкторської документації у разі дотримання умов перевезення, зберігання, монтажу і експлуатації.

   Гарантійний термін роботи ліфта ______________ з дня введення його в експлуатацію за актом приймання ліфта в експлуатацію. 

   Директор (Головний інженер) 

  

__________________________
(посада особи, яка підписує) 

_______________
(підпис) 
  

_____________________
(П. І. Б.) 

М. П. 

  

"___" ____________ 200 _ року 

   Гарантійні зобов'язання організації, яка змонтувала ліфт
   _______________________________________________________________________ гарантує
                                                           (назва організації, яка змонтувала ліфт)
відповідність монтажу ліфта вимогам технічної документації на монтаж і якість роботи ліфта в частині, що стосується його монтажу, в разі дотримання власником умов експлуатації.

   Гарантований термін роботи ліфта ____________________ з дня підписання акта про технічну готовність і приймання ліфта. 

   Представник монтажної організації 

  

__________________________
(посада особи, яка підписує) 

_______________
(підпис) 
  

_____________________
(П. І. Б.) 
  

М. П. 

"___" ____________ 200 _ року 

   6. Відомість про місцеперебування ліфта
   (нова сторінка, розташовується на двох сторінках) 


 

 

Назва організації (підприємства) власника ліфта 

Місце установлення ліфта (місто, вулиця, будинок, корпус, під'їзд) 

Дата установлення 

  

  

  

  

  

  

  

  

  

  

  

  


 

   7. Відомості про працівників, відповідальних за організацію робіт з технічного обслуговування і ремонту ліфтів (розташовується на двох сторінках)

Дата, N наказу про призначення і закріплення працівника 

Посада, прізвище та ініціали 

Підпис 

  

  

  

  

  

  

  

  

  

  

  

  


 

   8. Відомості про працівників, відповідальних за справний стан ліфта
(розташовується на п'яти сторінках)

Дата, N наказу (розпорядження) про призначення і закріплення працівника 

Прізвище та ініціали 

Підпис 

  

  

  

  

  

  

  

  

  


 

   9. Відомості про ремонт і модернізацію ліфта
   (розташовуються на двадцяти сторінках) 

Дата 

Відомості про ремонт і модернізацію ліфта* 

Прізвище та ініціали відповідальної особи 

Підпис  

  

  

  

  

  

  

  

  


 

   ____________
   * Документи, що підтверджують якість новоустановлених елементів ліфта, повинні зберігатись разом з паспортом ліфта.

   10. Запис результатів технічного огляду
   (розташовуються на двадцяти сторінках)

Дата огляду 

Результати огляду 

Термін наступного огляду 

  

  

  

  

  

  

  

  

  


 

 

   Ліфт зареєстрований за N _______________ у
   __________________________________________________________________________________,
                                                                                     (реєстраційний орган) 

   у паспорті пронумеровано і прошнуровано _________ всього аркушів, у тому числі креслень на _____________ аркушах.* 

__________________________
(посада особи, яка підписує) 

_______________
(підпис) 

_____________________
(П. І. Б.) 

М. П. 

  

  

"___" ____________ 200 _ року 

____________
* Паспорт повинен містити:
   1) установче креслення (кінематична схема, план і перерви шахти, машинного приміщення з розміщенням устаткування в ньому);
     2) принципову електричну схему;
     3) акт технічної готовності ліфта (ГСТУ 36.1-001-97);
     4) акт приймання ліфта (додаток К ГСТУ 36.1-011-97);
     5) акт готовності будівельної частини (додаток 6 до цих Правил);
   6) протокол перевірки ланцюга між нульовим проводом вводу і зануленими елементами електроустатковання (ГСТУ 36.1-001-97);
     7) протокол перевірки опору заземлювача (ГСТУ 36.1-001-97);
     8) протокол перевірки стану ізоляції електроустатковання і електричних мереж ліфта (ГСТУ 36.1-001-97);
     9) протокол виміру повного опору петлі "фаза-нуль" (ГСТУ 36.1-001-97);
    10) документи, що засвідчують якість: лебідки, обмежувача швидкості, приводу дверей, буферних пристроїв кабіни і противаги, пружини гальма, пружин уловлювачів.
     Паспорт НКП зберігається разом з паспортом ліфта.
 


 

 

 

Начальник Управління
організації державного нагляду
в металургії, енергетиці,
будівництві та котлонагляду
Держгірпромнагляду
 


 
 
 
В. І. Іванченко
 


 

 

Додаток 5
до Правил будови і безпечної експлуатації ліфтів 


 

ПАСПОРТ
БУДІВЕЛЬНОГО ПІДЙОМНИКА
(типовий)

 

 

 

Назва постачальника, місцезнаходження 

  


 

   1. Загальні відомості

Назва  

Відомість 

Підприємство-виробник 

  

Тип і модель підйомника 

  

Заводський номер 

  

Рік виготовлення 

  

Привод (електричний, гідравлічний, пневматичний) 

  

Навколишнє середовище, у якому може експлуатуватись підйомник (відносна вологість, насиченість пилом, агресивне, вибухонебезпечне, пожежонебезпечне) 

  


 

   1.1. Основні нормативні документи, відповідно до яких виготовлено підйомник* 

Позначення 

Назва 

  

  

  

  

  

  

  

  

  

  

  

  

  

  

  

  


 

   ____________
   * Заповнюється виробником.

   2. Основні технічні дані підйомника та його складових частин

   2.1. Основні параметри і характеристики підйомника 

Назва показника, одиниця виміру 

Значення 

Вантажопідйомність, кг 

  

Кількість пасажирів 

  

Номінальна швидкість руху кабіни (платформи), м/с 

  

Вид керування 

  

Кількість зупинок 

  

Висота підйому, м 

  

Конструкція кронштейнів кріплення напрямних кабіни (платформи)* 

  


 

 

   ____________
   * Заповнюється монтажною організацією.


 

   2.2. Електричні ланцюги підйомника 

Назва 

Вид струму 

Номінальна напруга, В, та допустиме відхилення, % 

Частота, ГЦ 

Ввідний пристрій 

  

  

  

Силовий ланцюг приводу лебідки:
     - у нормальному режимі
     - у разі запуску двигуна 

  

  

  

Ланцюг керування 

  

  

  

Ланцюг освітлення:
      - кабіни
      - ремонтних робіт 

  

  

  

Ланцюг сигналізації 

  

  

  


 

   2.3. Основні технічні відомості і характеристики лебідки 

Загальні відомості та основні показники, одиниця виміру 

Значення (діапазон) 

Тип (редукторна, безредукторна) 

  

Заводський номер 

  

Рік виготовлення 

  

Номінальний обертальний момент на вихідному валу, Нм 

  

Діаметр канатотягового шківа, барабана, зірочки, мм 

  

Маса, кг 

  


 

   2.3.1. Редуктор 

Загальні відомості та основні показники, одиниця виміру 

Значення (діапазон) 

Тип  

  

Заводський номер 

  

Рік виготовлення  

  

Передаточне число 

  

Міжосьова відстань передачі, мм 

  

Маса, кг 

  


 

   2.3.2. Гальмо 

Загальні відомості та основні показники, одиниця виміру 

Значення (діапазон) 

Тип (колодковий, дисковий, конусоподібний тощо) 

  

Діаметр гальмового шківа, мм 

  

Рік виготовлення 

  

Привод гальма: - тип
                       - зусилля, кН
                       - хід виконавчого органу, мм 

  

  

  


 

   2.4. Основні технічні дані і характеристика електродвигунів 

Загальні відомості та основні показники, одиниця виміру 

Значення (діапазон) 

Призначення 

Лебідка 

Тип  

  

Вид струму 

  

Номінальна напруга, В 

  

Номінальний струм, А 

  

Номінальна частота, Гц 

  

Номінальна потужність, кВт 

  

Граничнодопустима температура нагрівання обмоток двигуна, °C 

  

Клас ізоляції 

  

Синхронна частота обертання, об/хв 

  

Тривалість включення (ТВ), % 

  

Кількість включень на годину 

  

Виконання (нормальне, вологозахисне, пилеводозахисне, морське тощо), ступінь захисту 

  


 

   2.5. Основні технічні дані і характеристики гідроприводу
(для гідравлічного підйомника)
Тип
_____________________________________________________________________________________
_____________________________________________________________________________________ 

   2.5.1. Гідроциліндр 

Загальні відомості та основні показники, одиниця виміру 

Значення (діапазон) 

Тип 

  

Кількість 

  

Заводський номер 

  

Рік виготовлення 

  

Діаметр, мм:
               - плунжера
               - поршня
               - штока 

  

Хід, мм 

  

Робочий тиск, МПа:
                - найменший
                - найбільший 

  

Випробувальний тиск, МПа 

  

Швидкість, м/с:
               - під час підіймання, не менше
               - під час опускання, не більше 

  

Маса, кг 

  


 

   2.5.2. Гідроагрегат 

Загальні відомості та основні показники, одиниця виміру 

Значення (діапазон) 

Тип 

  

Підприємство-виробник 

  

Заводський номер 

  

Рік виготовлення 

  

Потік робочої рідини найбільший, дм3/хв 

  

Робоча рідина 

  

Об'єм заправлення, дм3 

  

Тиск налагоджування запобіжного клапана, МПа 

  

Випробувальний тиск, МПа 

  

Маса, кг 

  

Сертифікат 

  


 

   2.5.3. Трубопроводи
   Рукава високого тиску (тип)
___________________________________________________________________________________
___________________________________________________________________________________ 

   2.6. Кабіна (платформа) 

Конструкція та розміри, одиниця виміру 

Значення (діапазон) 

Внутрішні розміри, мм:
                                - ширина
                                - глибина
                                - висота 

  

Конструкція дверей (обертально-розкривні, розсувні, одно-, дво- або багатостулкові) 

  

Вид кабіни (прохідна, непрохідна) 

  

Маса, кг 

  


 

   2.7. Пристрої безпеки

   2.7.1. Механічні пристрої 

Назва пристрою 

Технічні дані, одиниця виміру 

Призначення 

Уловлювачі 

Тип (різкого, плавного гальмування, комбіновані) 

  

Умови випробування уловлювачів плавного гальмування (швидкість руху кабіни (платформи), завантаження кабіни (платформи)) 

  

Допустимий шлях гальмування, мм:
                       - максимальний
                       - мінімальний 

  

Буфери 

Тип 

  

Кількість  

  


 

   2.7.2 Вимикачі безпеки* 

Назва 

Наявність 

Замикання дверей кабіни (платформи) 

  

Завантаження кабіни (платформи) 

  

Перевантаження кабіни (платформи) 

  

Уловлювачі кабіни (платформи) 

  

Кінцеві - ланцюг, який розмикається (силовий, керування).
Спосіб приведення в дію 

  

Інші вимикачі безпеки, які застосовуються для підйомника 

  


 

 

 

____________
* Указується "Є" або "Немає".


 

 

   3. Навантаження під час проведення повного технічного огляду 

Назва (що випробується, перевіряється) 

Величина навантаження 

  

  

  

  


 

 

 4. Відомості про придатність підйомника до експлуатації**

    Підйомник з заводським номером ____________________, виготовлений відповідно до ___________________________________________________________________________________
                                                                                    (назва та номери документів)
і визнаний придатним до експлуатації.

   Дата випуску 

__________________________
(посада особи, яка підписує) 

_______________
(підпис) 

_____________________
(П. І. Б.) 

М. П. 

  

  

"___" ____________ 200 _ року 

____________
** Заповнюється виробником.

 5 Гарантійні зобов'язання
________________________________________________________________________ гарантує
                                                                       (назва підприємства - виробника)
відповідність підйомника вимогам конструкторської документації у разі дотримання умов транспортування, зберігання, монтажу і експлуатації.

   Гарантійний термін роботи підйомника _________________ з дня введення його в експлуатацію за актом приймання підйомника в експлуатацію. 

   Директор (головний інженер) 

__________________________
(посада особи, яка підписує) 

_______________
(підпис) 

_____________________
(П. І. Б.) 

М. П. 

  

  

  

"___" ____________ 200 _ року 

    Гарантійні зобов'язання організації, яка змонтувала підйомник
_________________________________________________________________________ гарантує
                                                                 (назва організації, яка змонтувала підйомник)
відповідність монтажу підйомника вимогам технічної документації на монтаж і якість роботи підйомника в частині, що стосується його монтажу, в разі дотримання власником умов експлуатації.

    Гарантований термін роботи підйомника ____________з дня підписання акта про технічну готовність і приймання підйомника. 

    Представник монтажної організації 

__________________________
(посада особи, яка підписує) 

_______________
(підпис) 

_____________________
(П. І. Б.) 

М. П. 

  

  

"___" ____________ 200 _ року 

 6. Відомість про місцезнаходження підйомника
   (нова сторінка, розміщується на двох сторінках) 


 

 

Назва організації (підприємства) власника підйомника 

Місце установлення підйомника (місто, вулиця, будинок, корпус, під'їзд) 

Дата установлення 

  

  

  

  

  

  

  

  

  


 

   7. Відомості про працівників, відповідальних за організацію робіт з технічного обслуговування і ремонту підйомників (розміщуються на двох сторінках) 

Дата, N наказу про призначення і закріплення працівника 

Посада, прізвище та ініціали 

Підпис 

  

  

  

  

  

  

  

  

  


 

   8. Відомості про працівників, відповідальних за справний стан підйомника
(розміщуються на п'яти сторінках) 

Дата, N наказу (розпорядження) про призначення і закріплення працівника 

Посада, прізвище та ініціали 

Підпис 

  

  

  

  

  

  

  

  

  


 

   9. Відомості про ремонт і модернізацію підйомника
(розміщуються на двадцяти сторінках) 

 

Дата 

Відомості про ремонт і модернізацію підйомника* 

Прізвище та ініціали відповідальної особи 

Підпис 

  

  

  

  

  

  

  

  


 

  ____________
   * Документи, що підтверджують якість новоустановлених елементів підйомника, повинні зберігатись разом з паспортом підйомника.

   10. Запис результатів технічного огляду
   (розміщується на двадцяти сторінках) 

Дата огляду 

Результати огляду 

Термін наступного огляду 

  

  

  

  

  

  


 

 

    Підйомник зареєстрований за N __________________ в
__________________________________________________________________________________,
                                                                                           (реєстраційний орган)
у паспорті пронумеровано і прошнуровано _________ всього аркушів, у тому числі креслень на ___________ аркушах.* 

__________________________
(посада особи, яка підписує) 

_______________
(підпис) 

_____________________
(П. І. Б.) 

М. П. 

  

  

"___" ____________ 200 _ року 

____________
* Паспорт повинен містити:
    1) принципову електричну схему;
    2) акт технічної готовності підйомника (ГСТУ 36.1-001-97);
    3) акт приймання ліфта (додаток К ГСТУ 36.1-011-97);
    4) протокол перевірки ланцюга між нульовим проводом вводу і зануленими елементами електроустатковання (ГСТУ 36.1-001-97);
    5) протокол перевірки опору заземлювача (ГСТУ 36.1-001-97);
    6) протокол перевірки стану ізоляції електроустатковання і електричних мереж ліфта (ГСТУ 36.1-001-97);
    7) протокол виміру повного опору петлі "фаза-нуль" (ГСТУ 36.1-001-97);
    8) документи, що засвідчують якість: лебідки, обмежувача швидкості, пружини гальма, пружин уловлювачів.
     Паспорт НКП зберігається разом з паспортом ліфта.
 


 

 

 

Начальник Управління
організації державного нагляду
в металургії, енергетиці,
будівництві та котлонагляду
Держгірпромнагляду
 


 
 
 
В. І. Іванченко
 


 

 

Додаток 6
до Правил будови і безпечної експлуатації ліфтів 


 

АКТ
готовності будівельної частини ліфта

 

 

"___" ____________ 200_ року

   __________________________________________________________________________________
     (будова і її місцезнаходження)
   Цей акт складений про те, що __________________________________________________________
                                                                                                            (шахта, машинне приміщення,
______________________________                               _____________________________
                     блочне приміщення)                                                                                                 (тип ліфта)
ліфта, заводський N __________________________________ виконані згідно з кресленнями
_______________________________, розробленими _______________________________________
                         (шифр креслень)                                                                                (назва організації - розробника креслень
________________________________, та готові до виконання робіт з монтажу
будівельної частини ліфта)
устатковання ліфта. 

    ЗДАВ:
    Представник будівельної організації (генпідрядник),
посада 

 

____________
(підпис) 

___________________
(П. І. Б.) 

"___" ____________ 200_ року 

    ПРИЙНЯВ:
    Представник монтажної організації,
посада 

  

____________
(підпис) 

___________________
(П. І. Б.) 

"___" ____________ 200_ року 


 

 

Начальник Управління
організації державного нагляду
в металургії, енергетиці,
будівництві та котлонагляду
Держгірпромнагляду
 


 
 
 
В. І. Іванченко
 


 

 


Назад

 


ПРОДУКЦІЯ ТА ПОСЛУГИ

СУПРОВІД ПРОДУКТІВ

НОРМАТИВНІ АКТИ

ПОСИЛАННЯ

КЛІЄНТИ

ПАРТНЕРИ

Сторінка "ЛЕОНОРМ" на facebook

    БД «Електронний Реєстр Технічних регламентів України  Актуалізація Ваших НД   http://www.germiona.com.ua/  
 

 

Copyright © 2004-2026, ЛЕОНОРМ.